耙子的构造

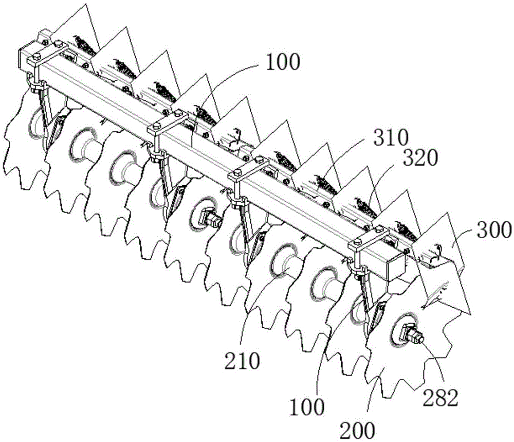
一种圆盘耙用后耙组
图片尺寸1000x811
农业机械65锰钢轻型圆盘耙 配农用拖拉机圆盘轻耙
图片尺寸540x364
耙的使用与维护
图片尺寸681x510
一种园林绿化用耙子的制作方法
图片尺寸311x358
一种圆盘耙用前耙组
图片尺寸1000x857
中山伏季休渔5月1日开始渔民朋友这些禁用渔具你了解吗
图片尺寸608x692
一种用于中药生产的搂草耙的制作方法
图片尺寸362x443
cn109565959a_一种圆盘耙用前耙组及其使用方法在审
图片尺寸1000x859
日式枯山水木耙子 四齿 六齿 八齿实木耙子 造景耙子
图片尺寸650x650
农用圆盘耙设计
图片尺寸820x363
农耕入画1
图片尺寸1349x1080
供应圆盘耙;悬挂轻耙;一力专业生产圆盘耙
图片尺寸640x563
cn2054473u_格栅清污机齿耙的增重机构失效
图片尺寸1440x2196
耙装机
图片尺寸812x279
定制钉耙农具九齿小农用大号耙子松土搂草扒草多功能钢扒子九齿草耙不
图片尺寸800x828
一种收割机的拨禾器结构的制作方法
图片尺寸1000x746
铁耙子多齿农具绿化平地四齿整地用品户外耙头加厚四齿耙枯叶菜园
图片尺寸750x750
农机 微耕机水田平地平田十齿钉耙全钢结构传统工艺手工锻打耙子
图片尺寸960x960
家乡的老物件
图片尺寸1004x1407
动力耙
图片尺寸220x125