耦合罐切割图

耦合罐的介绍与功能详解
图片尺寸1080x1073
高效乳化剪切罐在食品加工中的应用与效益解析
图片尺寸1080x1061
石家庄耦合罐厂家
图片尺寸1000x658
耦合罐:供暖系统中的隐形守护者 🌡️
图片尺寸800x1067
耦合罐:地暖系统中的隐形英雄 🌡️
图片尺寸753x596
多功能耦合罐的设计和制造过程是怎样的?
图片尺寸2736x3648
耦合罐工作原理
图片尺寸800x1422
耦合罐工作原理详解
图片尺寸1158x1490
耦合罐厂家,欢迎合作
图片尺寸800x1422
安徽水刀切割油罐设计合理 ,水刀切割,上门施工咨询;1526
图片尺寸750x1280
耦合罐工作原理详解
图片尺寸350x380
76直径混水罐 不锈钢耦合罐 地暖水利分压器结构简单
图片尺寸750x1368
耦合罐的作用
图片尺寸5000x3337
耦合罐真的能节能吗?🤔
图片尺寸1440x1050
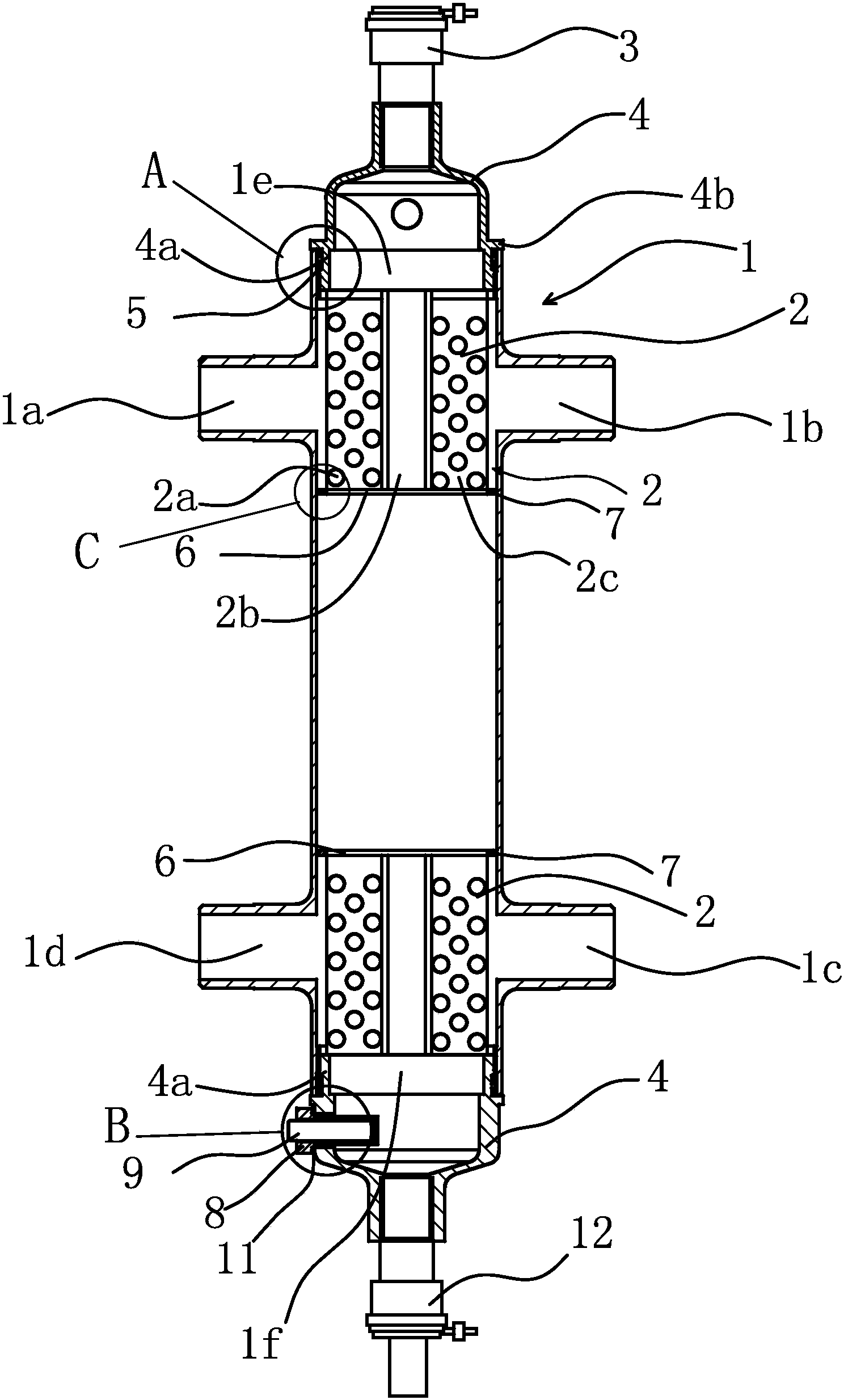
一种过滤耦合罐
图片尺寸1488x2468
带您看一款不一样的耦合罐
图片尺寸831x901
三图搞懂地暖耦合罐的原理
图片尺寸680x428
地暖系统要加装耦合罐吗?
图片尺寸1440x1920
什么是耦合罐?耦合罐,学名去耦罐,俗称混水缸,混水罐,从字面
图片尺寸1440x1080
这种装法,你们觉得对吗?#地暖#壁挂炉#耦合罐#二次系统#耦合罐厂家
图片尺寸1080x1920