耳钉枪原理

打耳洞:是手打好还是枪打好?有没有跟我一样是耳钉控的姐妹?看 - 抖音
图片尺寸1296x1728
手穿和枪打的区别 希望每个宝宝都有好耳洞.手穿和枪打的区别( - 抖音
图片尺寸1080x1174
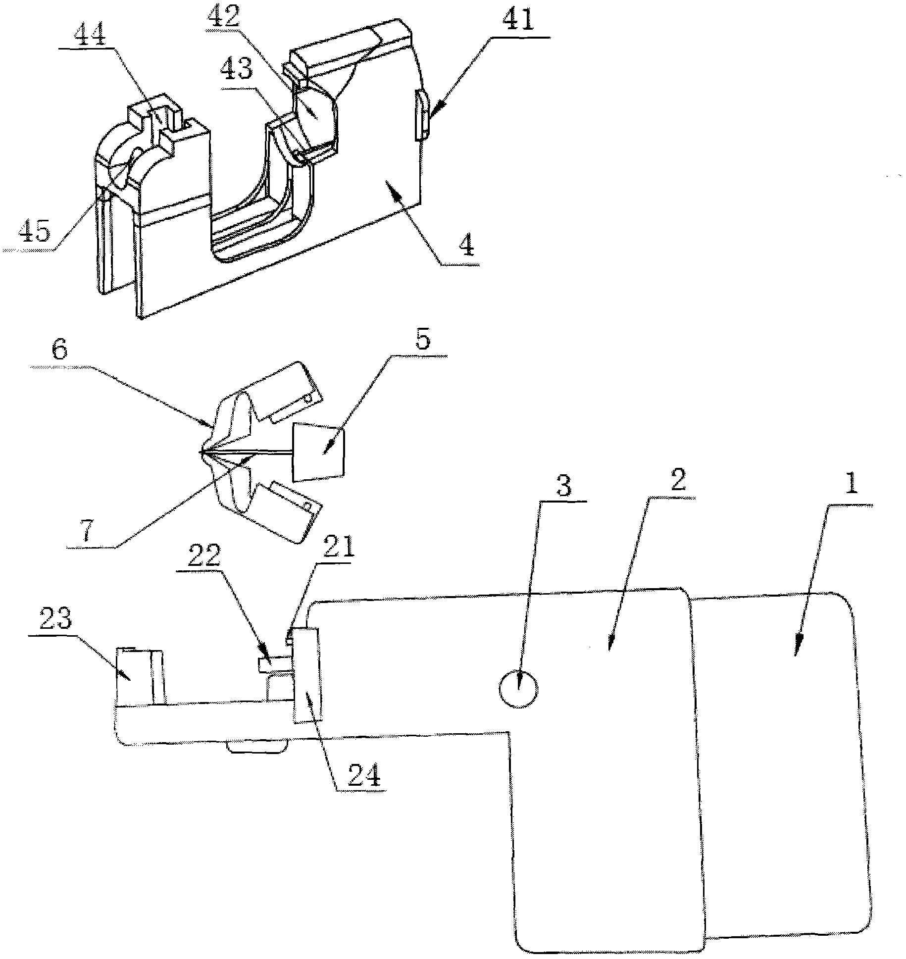
一种耳钉枪
图片尺寸1830x1937
耳洞枪打和手工针穿对比.
图片尺寸1080x1282
手穿耳洞和枪打耳洞的区别
图片尺寸817x728
打耳洞神器无痛穿耳器打耳枪不锈钢耳钉枪打耳骨耳屏扎耳眼工具 枪 12
图片尺寸620x620
耳钉枪
图片尺寸1080x1440
04选择穿孔方式时,你是否在手工穿孔和枪打耳洞之间犹豫不决?
图片尺寸1080x1374
耳骨手穿枪打耳钉对比
图片尺寸1080x1081
又有人来咨询枪打耳洞,顺便给大家科普一下吧,一下是枪打耳洞实 - 抖
图片尺寸1080x1560
新款打耳洞神器无痛穿耳器耳钉枪耳洞枪打耳洞专用耳钉机一次性穿孔针
图片尺寸750x739
打耳洞神器一次性 打孔器无菌穿耳眼专用枪扎耳钉自己枪机手工具
图片尺寸750x1000
厂家直销花朵时尚二代一次性打耳洞枪打耳洞神器学生耳钉枪穿耳器
图片尺寸800x1360
打耳洞神器耳洞枪无痛穿耳器耳钉枪非一次性耳钉器专业打耳洞的枪兰胶
图片尺寸750x955
专业穿孔师教你扩耳洞 好多姐妹因为是枪打的耳洞所以耳钉洞比较的小
图片尺寸1313x1280
二代穿耳器一次性耳钉枪6对套装打耳洞专用耳钉女耳饰品工厂直销
图片尺寸790x1468
自己打耳洞丨一次性耳钉枪 初中时期在妈妈姐姐的陪同下打了第一个
图片尺寸1280x1280
打耳洞枪 一次性无痛穿耳器穿耳洞工具耳钉枪送耳钉第二代新款
图片尺寸750x1022
手穿耳洞和枪打耳洞最明显直观的区别90, 枪打是靠冲击力用一 - 抖
图片尺寸1440x1592
弗司美特一代打耳洞神器一次性无痛穿耳器防过敏彩钻耳钉枪耳骨孔
图片尺寸750x1217