联动装置设计

一组炫酷的机械互动人物装置
图片尺寸960x1280
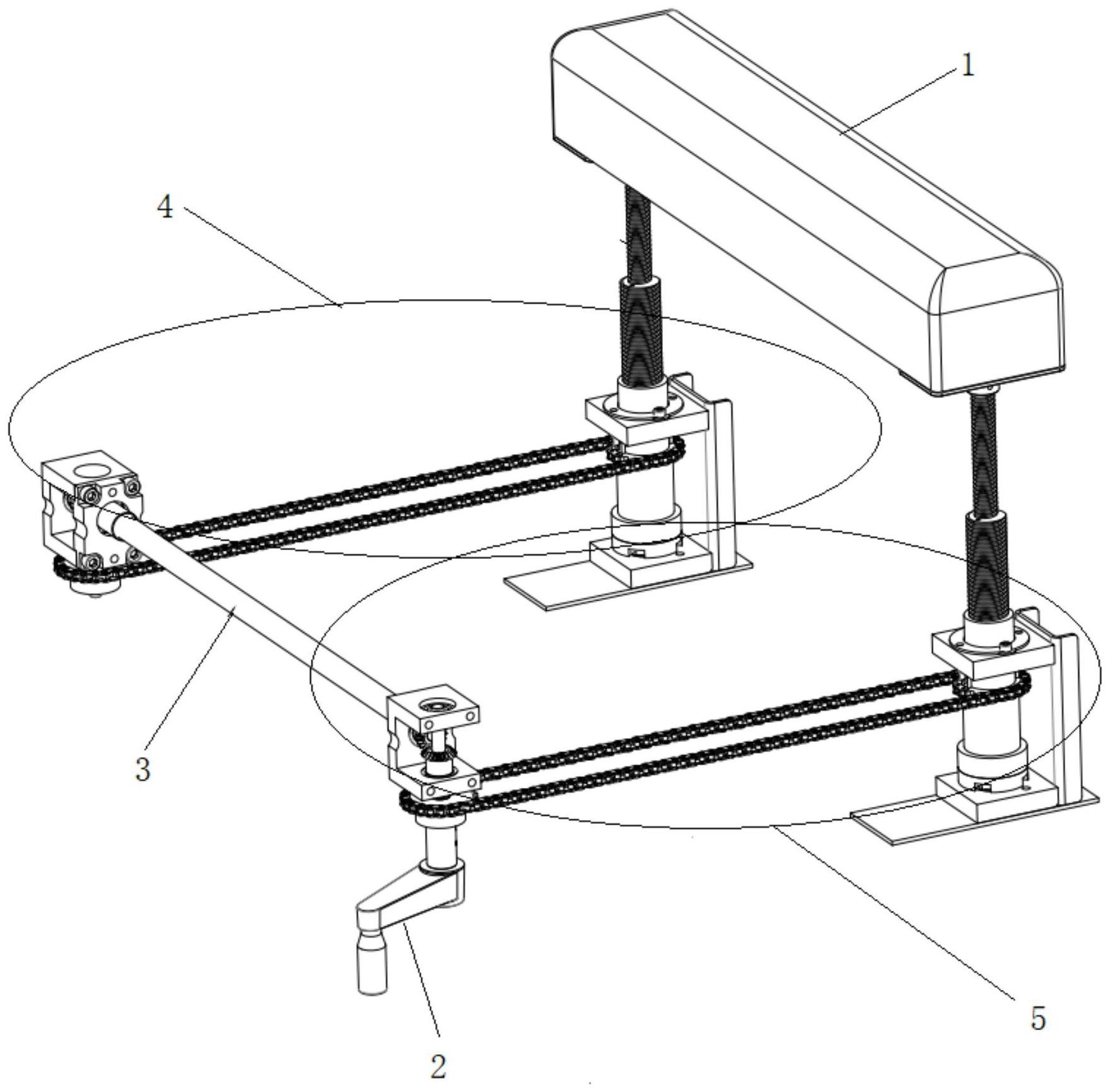
一种丝杆腰桥顶升联动装置-爱企查
图片尺寸1760x1731
上海首家艺术装置空间落地:"了不起的中国成分3"快闪展现国货之光
图片尺寸4000x2667
手工diy联动装置创意展示
图片尺寸1080x1440
空间装置设计与品牌如何联动?
图片尺寸640x422
空间装置设计与品牌如何联动?
图片尺寸640x427
21组装置艺术作品在新天地设计节化身为城市空间"插件"
图片尺寸3360x1997
c4d&oc现代展厅交互概念艺术装置三维动画制作
图片尺寸1728x1080
【发光翅膀 夜游景观 街道亮化 幻彩流动 灯光节】价格,厂家,-搜了网
图片尺寸3072x3072
a065 180度摆动联动装置
图片尺寸983x737
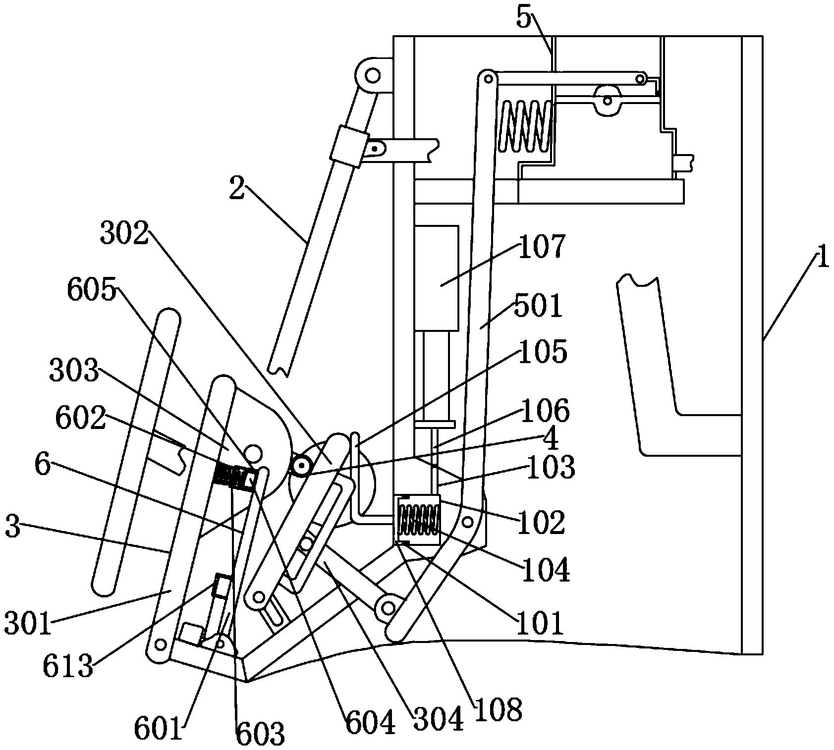
一种便于润滑型机械手臂用联动装置
图片尺寸1780x2375
盘点那些酷炫好玩的交互体验装置
图片尺寸1920x1280
dop设计, 盘点国内外最好玩的70种互动装置艺术!
图片尺寸670x447
单车联动铁艺景观装置 铁艺互动景观雕塑 单车联动竞速装置
图片尺寸4032x3024
一种紧急制动油门分离刹车联动装置
图片尺寸1683x1514
连杆驱动的直线伸缩联动装置,齿轮连接多个连杆实现!
图片尺寸1920x1080
气压联动自动夹紧装置,机床工装夹具
图片尺寸576x1022
摘要附图摘要1.本外观设计产品的名称三角琴联动器(a).2.
图片尺寸584x496
一种机械用联动式导向装置
图片尺寸1575x1403
装置艺术 |大自然的韵律—ned kahn
图片尺寸1080x720