聚结器原理

聚结器原理介绍ppt课件
图片尺寸920x690
谁有好的油水分离装置,共享一下
图片尺寸541x564
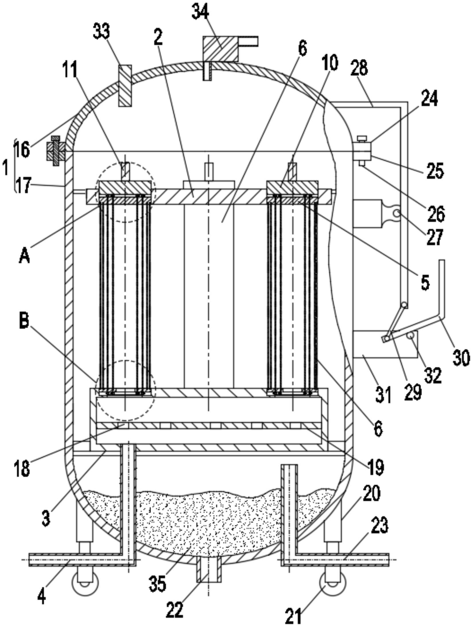
一种聚结过滤器
图片尺寸1648x2184
聚结滤油机-滤油机系列-产品中心-河南省艾铂锐机械设备有限公司
图片尺寸681x464
两级聚结分离器结构简图 figure structure diagram
图片尺寸700x681
聚结式过滤器结构图
图片尺寸522x506
一种二甲苯聚结脱水分离器的制作方法
图片尺寸1000x536
dr501聚结过滤器设计dr501聚结过滤器设计dwg
图片尺寸444x626
聚结器
图片尺寸400x369
聚结分离技术在含油污水处理中的应用研究进展
图片尺寸1575x920
(a)cv型聚丙烯折叠管聚结除油器结构原理在含油污水聚结分离器内部装
图片尺寸333x354
聚结式油水分离机水中分油
图片尺寸698x528
lycj系列滤油机聚结脱水滤油机
图片尺寸500x315
立式的结构图如下,卧式的和立式的原理一样.
图片尺寸540x563
聚结脱水滤油机lyc-j系列系统原理图
图片尺寸540x341
聚结器
图片尺寸943x1134
一种航煤过滤聚结分离器的制作方法
图片尺寸745x1000
02gr60气液分离器聚结器 聚结分离器
图片尺寸1905x1280
一种新型聚结分离过滤器
图片尺寸227x364
本发明公开一种处理煤化工废水的工艺,包括:将煤化工废水通入聚结器
图片尺寸1906x1230