胃镜结构图

胃镜操作基础知识
图片尺寸920x690
国产品牌能否在未来的消化内镜诊疗市场占一席之地
图片尺寸1000x542
学胃镜必备
图片尺寸1080x810
cn205433634u_清洁式消化内科检查胃镜失效
图片尺寸1000x722
做胃镜是否会对身体造成损伤无痛胃镜普通胃镜该如何选
图片尺寸600x400
我为群众办实事健康科普知识及行动胃镜检查知识科普
图片尺寸1366x702
电子胃镜设计
图片尺寸658x369
cn202981951u_多功能胃镜失效
图片尺寸930x1000
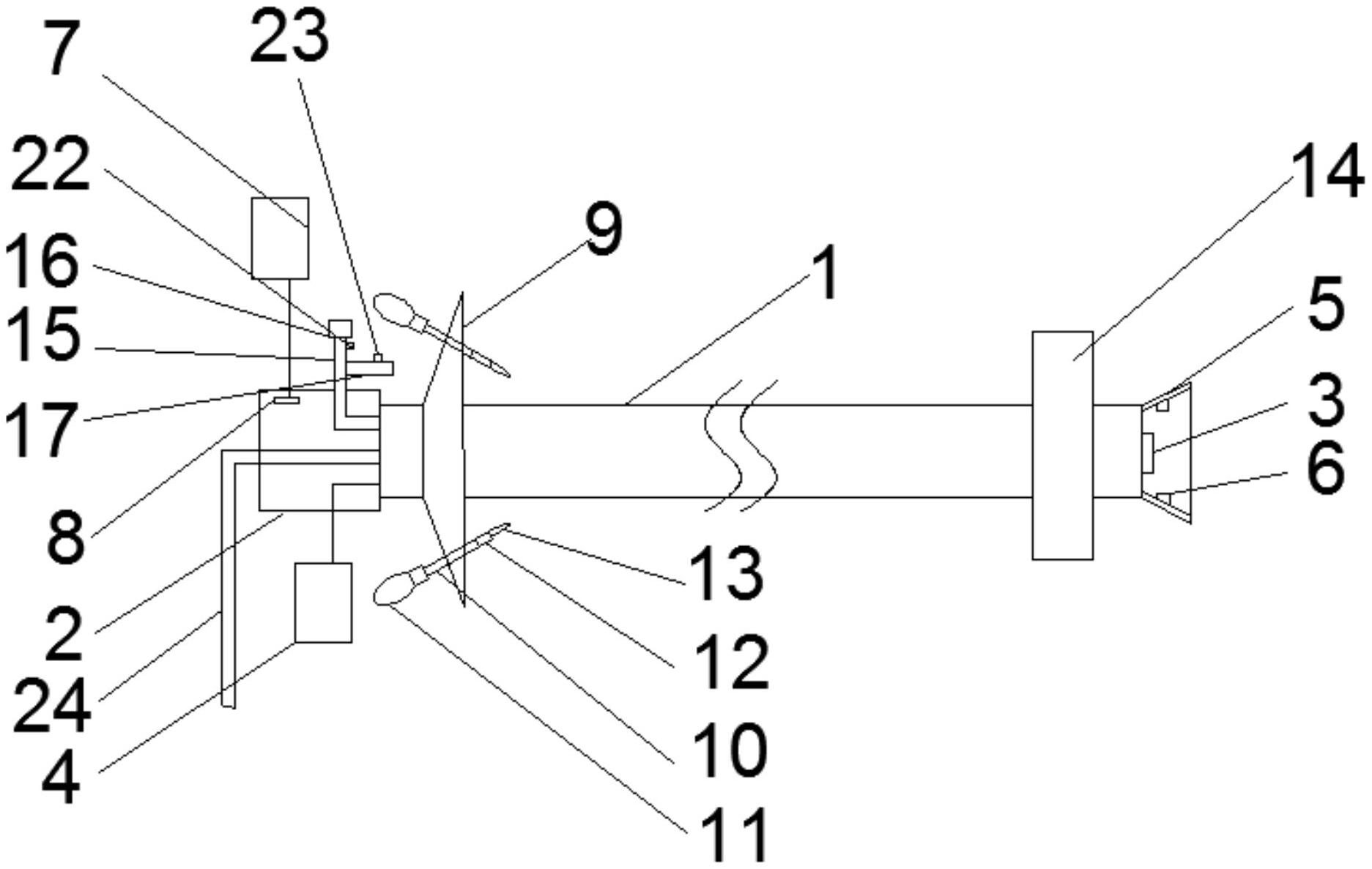
和电源,位于所述操作手柄下方的胃镜导管上设有口腔液体吸附结构,所述
图片尺寸1873x1187
胃镜检查图解ppt课件
图片尺寸920x690
北平说 | 胃镜刚检查完还得做超声胃镜,多此一举?_内镜_病变_黏膜
图片尺寸539x574
做一次胃镜到底有多大伤害?听听专业的内科医生怎么说
图片尺寸546x407
胃镜,肠镜是怎么工作的?|内窥镜物镜系统初始结构的优化提升Ⅰ
图片尺寸964x557
原创病人胃镜和肠镜是混着用的吗不是一次性的医生what
图片尺寸640x438
胃镜操作全过程及各部位图示
图片尺寸870x594
做胃镜要抽血查性病为什么有的医院要抽血有的医院不查
图片尺寸640x541
一种医用电子胃镜制造技术
图片尺寸1000x657
胃镜初学体会ppt
图片尺寸1080x810
普通胃镜
图片尺寸1080x1439
碳14呼气试验能代替胃镜做胃镜这些个误区你必须知道
图片尺寸641x596