背轮机构

升降机用背轮机构制造技术
图片尺寸774x1000
cn201110195y_背压式汽轮机失效
图片尺寸2253x1744
09-3第五十七讲_槽轮机构 (精品)ppt
图片尺寸1088x816
crossmembercomprrfloor65750tk4a00zz
图片尺寸1920x960
cn202864635u_一种升降机背轮有效
图片尺寸392x424
高等教育 工学 > 机械原理课件第十二章机械原理课件 §12-1 棘轮机构
图片尺寸1080x810
机械原理第七章ppt 机械原理 §7-1 棘 轮 机 构 一,棘轮机构的
图片尺寸1080x810
m6010002000kw气动设计高效小型蒸汽轮机
图片尺寸600x332
250mm普通车床主传动系统设计(18级)背轮机构
图片尺寸300x225
背压式汽轮机剖面图
图片尺寸1080x810
施工升降机构的背轮组件
图片尺寸1000x848
首页 新闻中心 03 【工业式汽轮机】 利用此背压式汽轮机,将原厂用
图片尺寸600x367
18级传动加工直径250mm普通车床主传动系统设计【背轮机构】
图片尺寸300x225
cn204297880u_一种应用于施工升降机上的新型背轮装置有效
图片尺寸895x1000
其他常用机构简介 单向离合器 超越离合器 摩擦式棘轮机构
图片尺寸1080x810
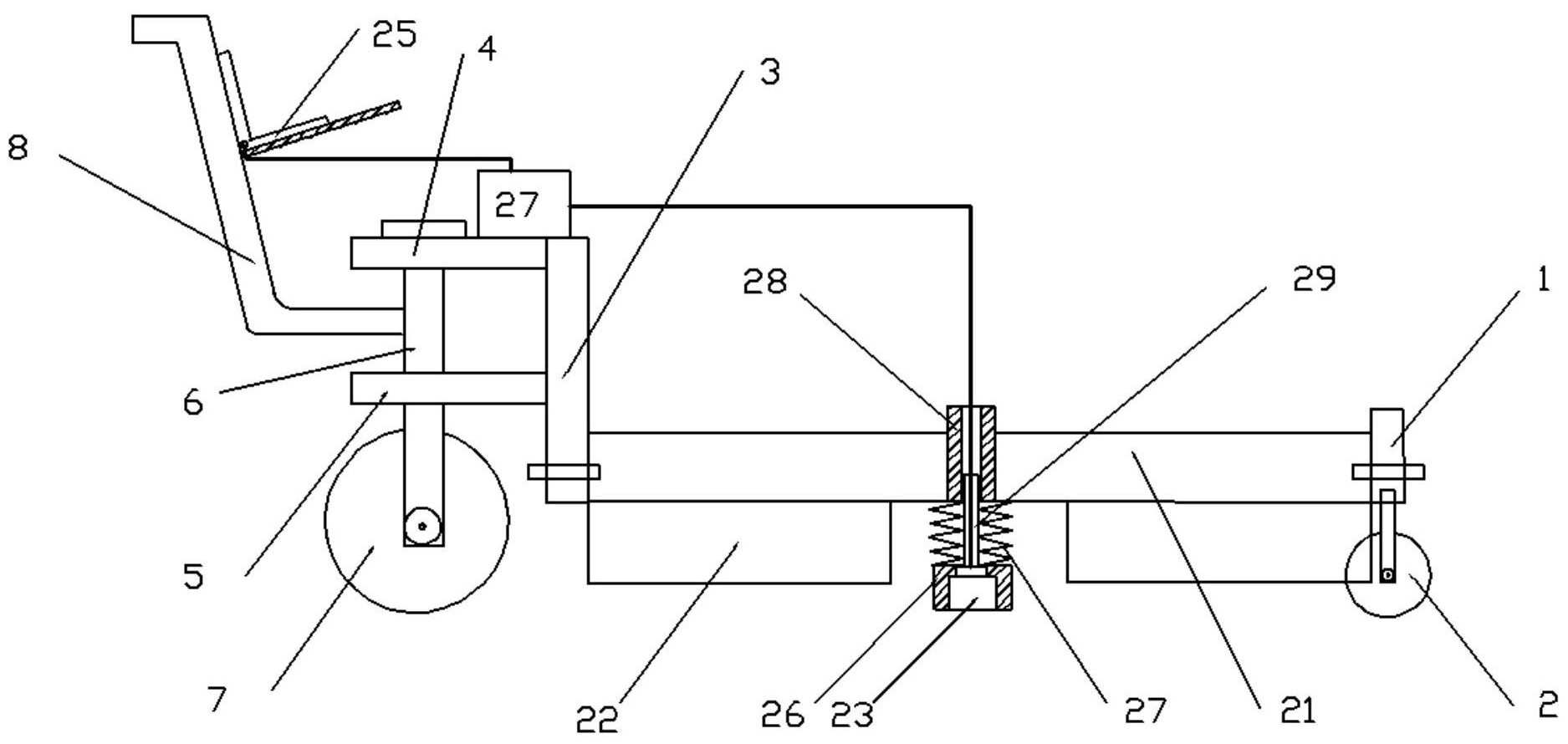
形车架的前端两端安装有定位轮,框形车架的后端向上弯折形成竖直车背
图片尺寸1875x890
一种可调整抽汽背压式单层汽轮机的制作方法
图片尺寸1000x547
棘轮机构 类型,特点和应用 摩擦式棘轮机构 齿式棘轮机构
图片尺寸1080x810
机械原理学习资料 其他常用机构简介 棘轮机构主要用于: 实现机床中的
图片尺寸1080x810
一种光轴高背压供热汽轮机
图片尺寸1000x488