背轮机构图片

12-1 棘轮机构ppt
图片尺寸1080x810
cn202864635u_一种升降机背轮有效
图片尺寸392x424
本发明公开了一种散热按摩办公椅,包括焊接有万向轮的底座,所述底座的
图片尺寸1686x1333
cn201110196y_一种背压式汽轮机失效
图片尺寸2213x1664
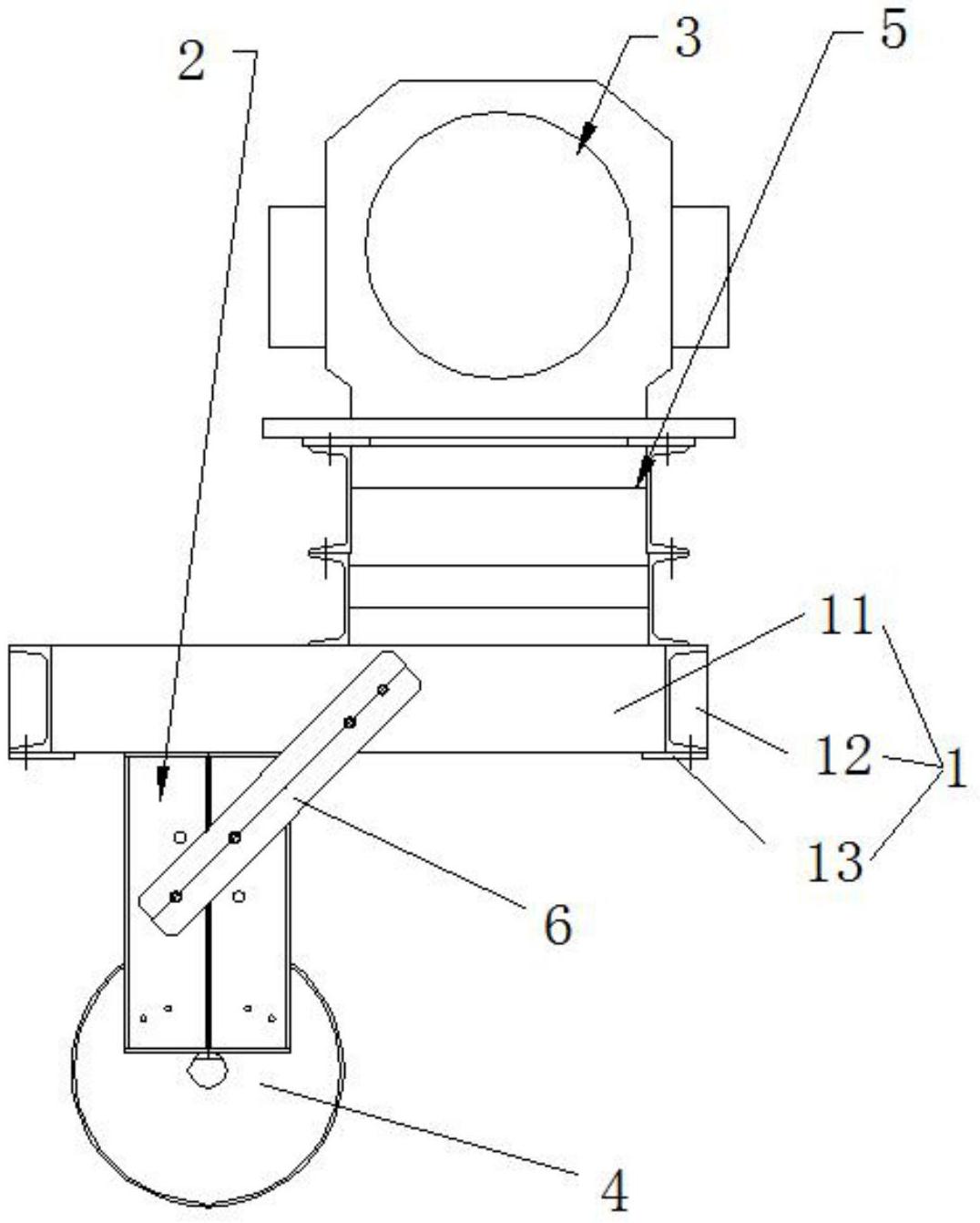
cn204297880u_一种应用于施工升降机上的新型背轮装置有效
图片尺寸895x1000
一种双背压运行的变转速凝汽式汽轮机-爱企查
图片尺寸586x800
cn201110195y_背压式汽轮机失效
图片尺寸2253x1744
因工作变动,由运行到检修,需要大量3mw背压汽轮机结构图,希望好心哥哥
图片尺寸463x299
升降机用背轮机构制造技术
图片尺寸774x1000
lcia低成本自动化8大机构之棘轮槽轮机构3
图片尺寸647x476
施工升降机构的背轮组件
图片尺寸1000x848
摘要:本实用新型公开了一种特种纺纱机导向机构,属于特种纺纱机的技术
图片尺寸443x270
安装相关技术领域的一种用于电梯的曳引导向机构,包括曳引机和导向轮
图片尺寸1076x1342
背压式抽背式及凝汽式汽轮机的区别
图片尺寸1080x810
均固定连接有底盘架,且所述底盘架四角处均活动连接有可收缩移动轮,所
图片尺寸400x355
一种应用于施工升降机上的新型背轮装置制造方法及图纸
图片尺寸902x1000
吸标头的吸附面背向待贴标的产品,贴标电机依次通过主动轮,驱动同步带
图片尺寸1667x1851
汽轮机扫盲班.汽轮机前箱内有什么,一起来看看#机械设备 #汽 - 抖音
图片尺寸960x720
硅胶作为履带材料,借助科沃斯窗宝擦窗机器履带外背层和玻璃表面间的
图片尺寸750x520
背景技术:对于凸台槽轮的端面车削加工,其背凸台面是很容易进行工装
图片尺寸1000x817