胶片机简笔画

老电影摄影机雕刻矢量图插画-正版商用图片0zfawp-摄图新视界
图片尺寸700x525
电影胶卷简笔画卡通胶片故事简笔画英语电影的主角简笔画
图片尺寸500x500
白色胶片放映机
图片尺寸1200x904
电影播放器的简笔画
图片尺寸519x330
2022最新照相机简笔画 照相机简笔画立体
图片尺寸450x347
唱片机的简笔画如何画?
图片尺寸1920x1080
电影摄影机三脚架图标clapperboard, 3d 眼镜, 胶片卷轴和电影摄影机
图片尺寸300x300
相机胶片卷图标轮廓风格
图片尺寸1035x1200
复古相机细线图标胶片相机用
图片尺寸1100x1100
老胶片相机图片-老胶片相机素材-老胶片相机插画-摄图新视界
图片尺寸424x300
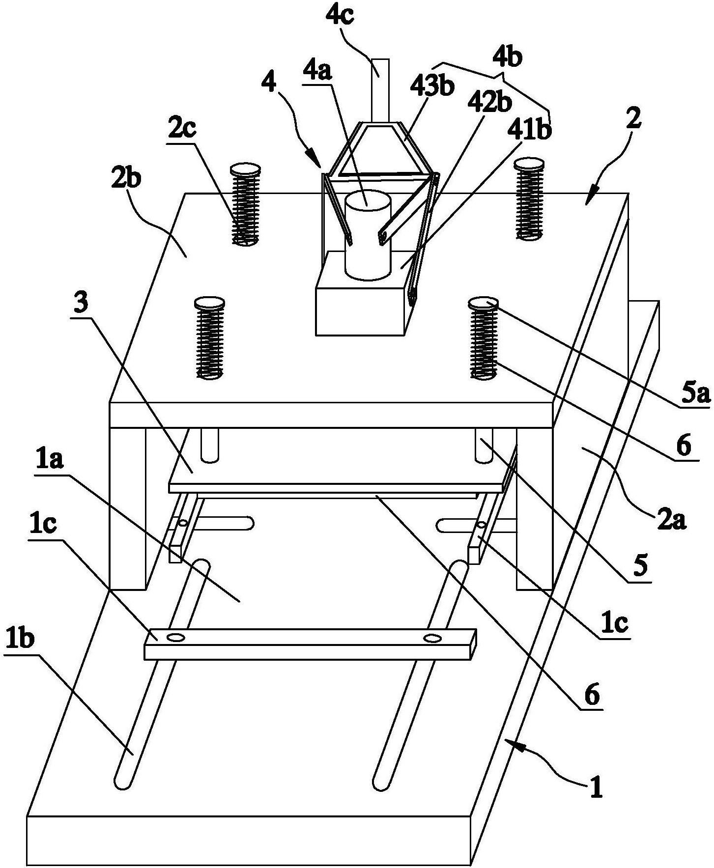
一种便于测速调试的唱片机
图片尺寸1000x937
放映机简笔画底纹
图片尺寸500x303
照相机
图片尺寸1536x1453
老唱片简笔画
图片尺寸500x500
压胶片机-爱企查
图片尺寸1453x1767
电影胶片放映机简笔画
图片尺寸293x220
摄像机胶卷方便图标
图片尺寸748x1200
名人符号图片-名人符号素材-名人符号插画-摄图新视界
图片尺寸300x300
可以是张扬的红,清新的黄或许八小时之内的你,是简单的黑白灰冷暖胶片
图片尺寸1080x1320
数码照相机
图片尺寸1588x1299