胶辊放置架

这三种胶辊架子哪一个更好用呢?#胶辊架#胶辊架子#立式胶辊架
图片尺寸1280x1708
又是满满当当收辊的一天,感谢各位老铁支持#印刷行业 #胶辊
图片尺寸1080x1440
智能胶轴库胶辊收纳架
图片尺寸1200x1200
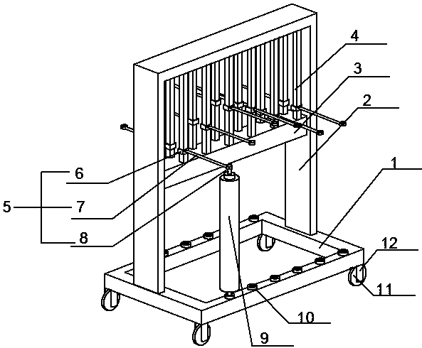
一种胶辊放置架
图片尺寸593x490
胶辊架#无溶剂胶辊架#可以放12根胶辊#高考加油
图片尺寸1279x1706
胶辊架#无溶剂胶辊架#可以放12根胶辊#高考加油
图片尺寸1279x1706
滚轴式塑料膜放置架:收纳界的隐藏高手
图片尺寸1000x1000
水辊-河北春风银星胶辊股份有限公司-胶辊专业生产厂家
图片尺寸1500x985
长沙包胶生产厂家联系电话:13630072610.自动化设备
图片尺寸3024x4032
无溶剂胶辊架发货#无溶剂胶辊架#胶辊架#立式胶辊架#立式无溶
图片尺寸1706x1279
无溶剂胶辊架发货#无溶剂胶辊架#胶辊架#立式胶辊架#立式无溶
图片尺寸1279x1706
电动伸缩辊筒输送机海外电商仓储装卸货的智能新选择
图片尺寸4000x3000
包邮角铁款滚筒输送材料装卸架铝型材搬运上下托辊胶辊设备
图片尺寸800x800
重庆博诚eva料架条,重庆料架,重庆盛具料架,重庆工位器具,重庆非标料
图片尺寸800x800
dt ii trough roller bracket
图片尺寸800x600
图片尺寸1440x1920
账期
图片尺寸800x800
在现代工业中,钢卷固定座是一个不可或缺的重要组件
图片尺寸775x451
温诗欧胶辊架印刷机胶辊胶辊架无溶剂复合机胶辊支撑带轮能移动胶辊
图片尺寸800x800
胶版印刷机版辊出售,有需要联系我
图片尺寸1918x1082