胶辊砻谷机结构图

砻谷机
图片尺寸513x700
砻谷机
图片尺寸486x646
cn211913865u_一种可调温式胶辊砻谷机
图片尺寸1282x1789
一种胶辊砻谷机的制作方法
图片尺寸374x443
胶辊砻谷机
图片尺寸743x641
一种新型胶辊砻谷机
图片尺寸1316x1050
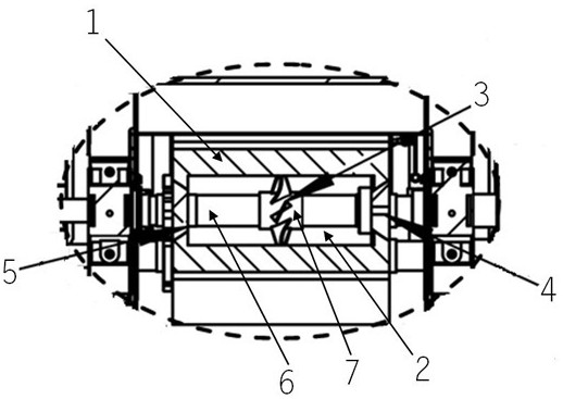
一种可调节式胶辊砻谷机
图片尺寸1384x1627
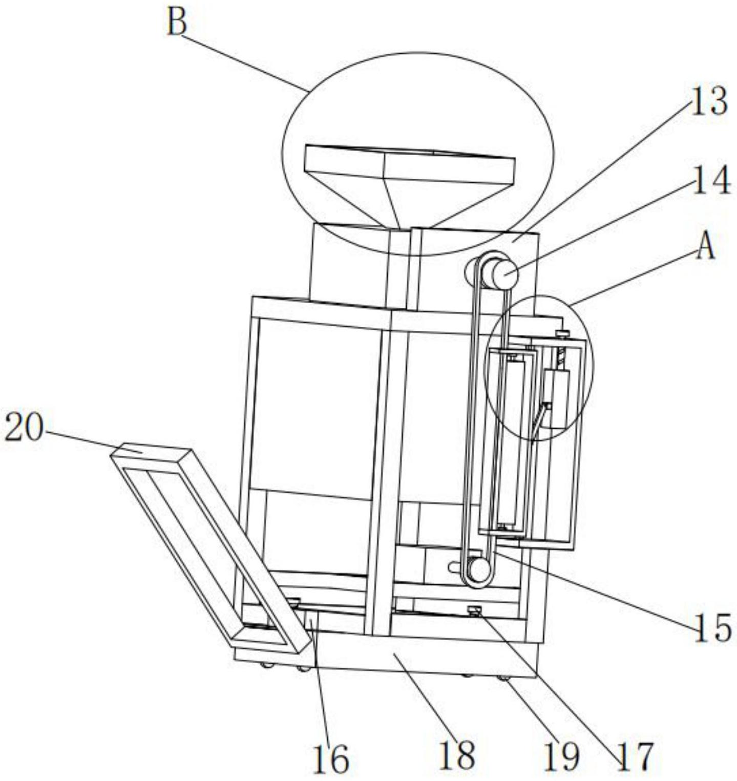
一种改进型胶辊砻谷机
图片尺寸1439x1525
一种复式全自动胶辊砻谷机
图片尺寸566x711
一种三胶辊砻谷机
图片尺寸1300x1813
一种可调节式胶辊砻谷机
图片尺寸1000x939
一种震动胶辊砻谷机的制作方法
图片尺寸921x1000
一种粮食加工用高效胶辊砻谷机的制作方法
图片尺寸374x455
一种竖置胶辊砻谷机制造技术
图片尺寸947x1000
变速胶辊砻谷机
图片尺寸476x600
砻谷机吸风量的调节实验
图片尺寸553x533
一种可调节式砻谷机_cn201710663874.9_知雀网
图片尺寸1000x789
一种砻谷机的自带风扇的胶辊机构-爱企查
图片尺寸518x367
一种高效的自动气压胶辊砻谷机-爱企查
图片尺寸1941x1152
cn2420058y_单式高效胶辊砻谷机失效
图片尺寸800x432