脚扣结构

结构及适用范围 脚扣主要由踏板,防滑橡胶,扣体,扣带构成,主要适用于
图片尺寸800x482
带锯齿防滑脚扣专业爬木杆爬树电工作业专用必备脚扣
图片尺寸670x1920
其包括脚扣支架,脚扣前掌和脚扣后掌,脚扣支架采用伸缩式结构,脚扣
图片尺寸1317x774
电工脚扣使用注意事项及工作规定
图片尺寸521x359
华泰加厚型爬杆脚扣电工脚扣登杆米脚扣线杆脚扣检测报告带
图片尺寸790x1627
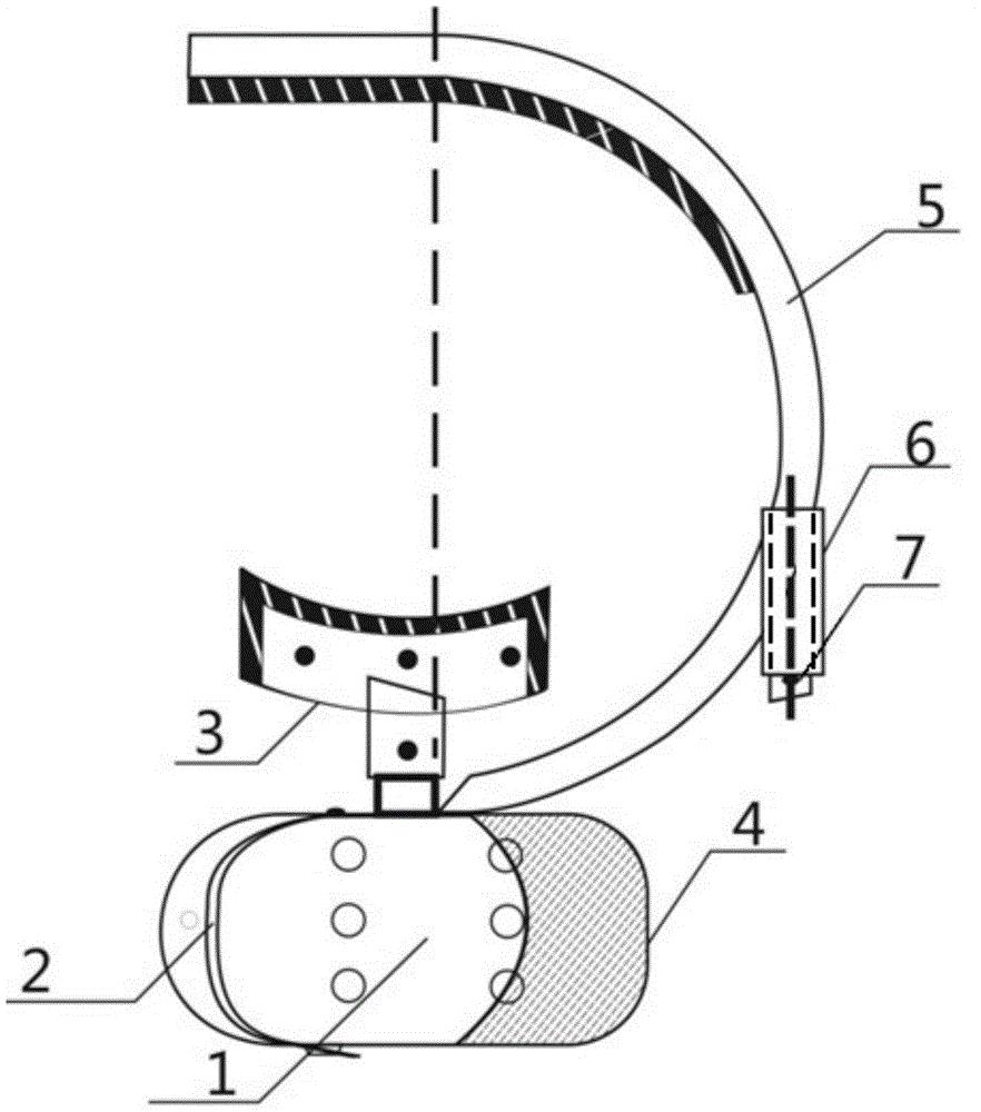
本发明公开了一种登杆脚扣,可调杆由相互套接的钢管形成伸缩杆结构,在
图片尺寸1192x1389
扣件式,碗扣式,盘扣式,轮扣式脚手架之间的区别
图片尺寸554x371
h型脚扣高铁专用铁路工字钢爬杆登高鞋h钢结构电工登杆脚扣国标
图片尺寸800x800
进阶篇3112dfm注塑卡扣
图片尺寸406x486
一种登杆脚扣
图片尺寸882x1000
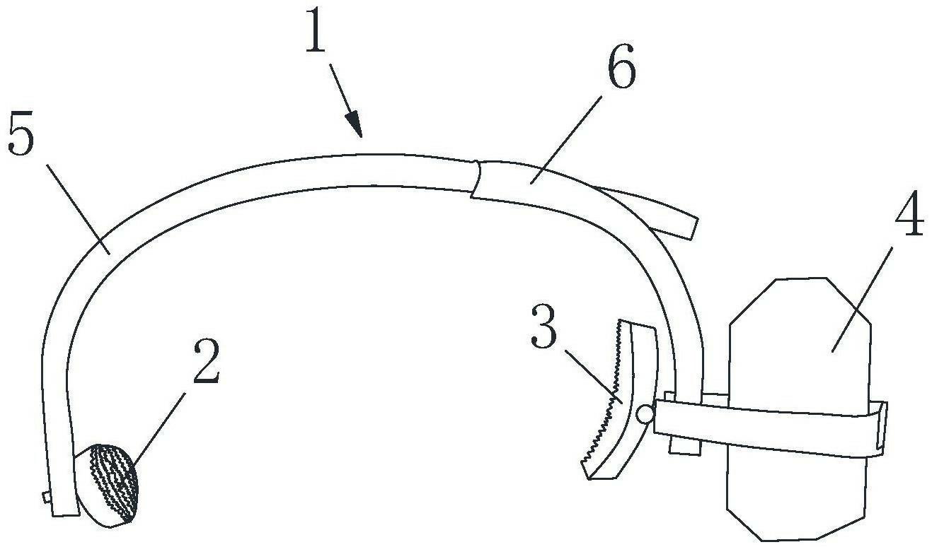
一种新型登电杆脚扣-爱企查
图片尺寸800x542
cn211632001u_鞋带旋转扣
图片尺寸1530x2439
一种防滑脚扣制造技术
图片尺寸1000x717
工业产品结构设计师需要掌握哪些技能
图片尺寸1105x583
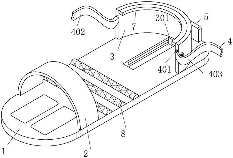
一种踏板可伸缩的脚扣制造技术
图片尺寸579x1000
脚扣爬杆器电力电工爬杆新款登杆专用国标电线杆路灯水泥杆15米
图片尺寸640x992
一种攀登覆冰电杆的脚扣
图片尺寸320x405
木杆脚扣爬杆器爬树工具电工用脚钩脚扎子猫爪带齿防滑加厚脚扣400型
图片尺寸750x888
特大号金蝉脱壳 马蹄扣古典智力玩具 九连环益智玩具带解法说明书
图片尺寸716x1024
脚手架,福州门式脚手架,安捷脚手架
图片尺寸649x577