腊肉加工厂平面图

肉制品生产车间设计图 - 工厂设施设备 - 食品论坛 - powered by
图片尺寸1214x639
肉制品车间平面图与工艺流程.pdf 2页
图片尺寸1218x860
肉制品加工厂厂房设计(pdf 7页)
图片尺寸525x533
肉制品加工厂厂房设计-54315928-0455-4c4b-9786-a8375.pdf
图片尺寸792x1061
食品qs肉制品厂质量相关平面图
图片尺寸1136x462
食品车间平面图简绘(人流,物流,水流,防虫,防鼠,设备布局)
图片尺寸640x313
年产1500吨腊肉制品食品工厂生产车间平面图设计cad图带计算说明
图片尺寸800x800
牛肉加工食品厂设备平面布置图
图片尺寸547x390
年产600吨灌肠类肉制品生产车间设计
图片尺寸820x337
肉罐头食品生产车间设计图
图片尺寸652x480
猪肉生产车间布置图
图片尺寸724x521
工厂总平面
图片尺寸678x486
某地肉类食品香肠食品加工厂整体设计cad图纸 说明
图片尺寸750x523
一种腊肉晾晒间的制作方法
图片尺寸1000x529
食品厂常见车间布局图
图片尺寸800x600
食品工厂布局图
图片尺寸835x517
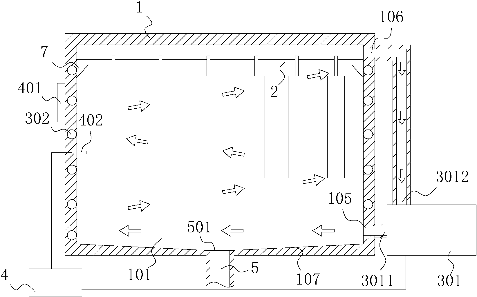
一种用于腊肉丝加工的电加热高效节能烘干装置
图片尺寸1644x1025
方案 空气能热泵烘干机在烘烤腊味的应用: 腊味包含很广,常见有腊肉
图片尺寸552x488
腊肉烟熏是指肉经腌制后再经过烘烤(或日光下曝晒)的过程所成的加工品
图片尺寸1000x838
腊肉肉类加工污水处理设备
图片尺寸600x627