自制吊钩图片

老自在钩茶壶吊钩纯手工老物件
图片尺寸1080x1440
diy两种自制挂钩方案让家里的挂钩不再单调
图片尺寸599x693
8吨自制吊车吊钩总成-浙江吊车吊钩-润华机电
图片尺寸700x933
用窗帘的挂钩制作实用的手机架
图片尺寸601x429
只需一把旧木尺 手残党也能轻松diy超实用的挂钩
图片尺寸550x328
diy朝天钩!
图片尺寸700x1244
纸竹灯笼 鸟笼 吸顶盘挂钩吊钩 吊灯装饰开口挂钩灯饰灯具配件diy
图片尺寸743x743
吊钩
图片尺寸530x707
起重机吊钩 小吊车吊钩 工程起重机械配件 型号齐全
图片尺寸1920x1920
塔吊吊钩防脱塔吊吊钩-三农视频-搜狐视频
图片尺寸1080x1920
各类吊钩索具的保管方法
图片尺寸500x500
钢板起重吊钳吊钩水平横吊索具组合吊装链l型钢板钩夹子双腿吊具成套
图片尺寸750x1550
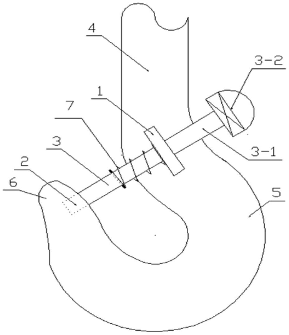
一种行车防脱吊钩的制作方法
图片尺寸315x444
自制朝天钩
图片尺寸700x934
钢丝绳电动葫芦吊钩下钩起重滑轮天车吊车行车配件1235吨二等级吊钩3
图片尺寸790x875
谁有单板吊钩的图纸.我用4个吊1500*6000的钢板
图片尺寸233x310
一种自动复位吊钩防脱装置-爱企查
图片尺寸927x1073
供应自动解锁吊钩
图片尺寸531x768
合肥吊钩
图片尺寸1080x1440
起重吊钳 pdq1t-8吨单板起重钳 铁板夹具 平吊 钢板吊钩 钩子板夹
图片尺寸800x600