自制拔销器

定位销取拔器拆拆销工具拔销器拉拔器机械印刷机维修手动拉锤轴承
图片尺寸300x300
自制开口销拆除神器真的太好用附带制作教程
图片尺寸972x607
小伙自制一个剥线神器,这也能想得到,他的鸡屎焊堪称一绝
图片尺寸496x280
用于拔取各类型绝缘子连接销的拔销器
图片尺寸1359x1577
一种击打式手动拔销器的制作方法
图片尺寸788x1000
手动拔销器内螺纹定位销拔出器维修工具用拔销器
图片尺寸460x460
词条图片
图片尺寸512x512
销钉拔出器 手动液压拔销器 提速道岔滑床板液压拔销器
图片尺寸800x800
一种多功能拔销器的制作方法
图片尺寸964x1000
滑床板液压拔销器尖轨滑床板拔销器at60出售铁路液压拔销器
图片尺寸750x750
养路机械液压销钉拔出器 手动便携拔销器厂家优惠多多
图片尺寸1024x1024
部分实习作品展示1
图片尺寸1417x945
手动拔销器内螺纹定位销拔出器维修工具用拔销器
图片尺寸460x460
应该是和轻兵器有关.
图片尺寸1046x889
电动拔销器拔出横梁,单排
图片尺寸576x576
优秀作品 轻松破壳不费力时髦家 设计师说: 挺好用的一个坚果破壳器
图片尺寸800x800
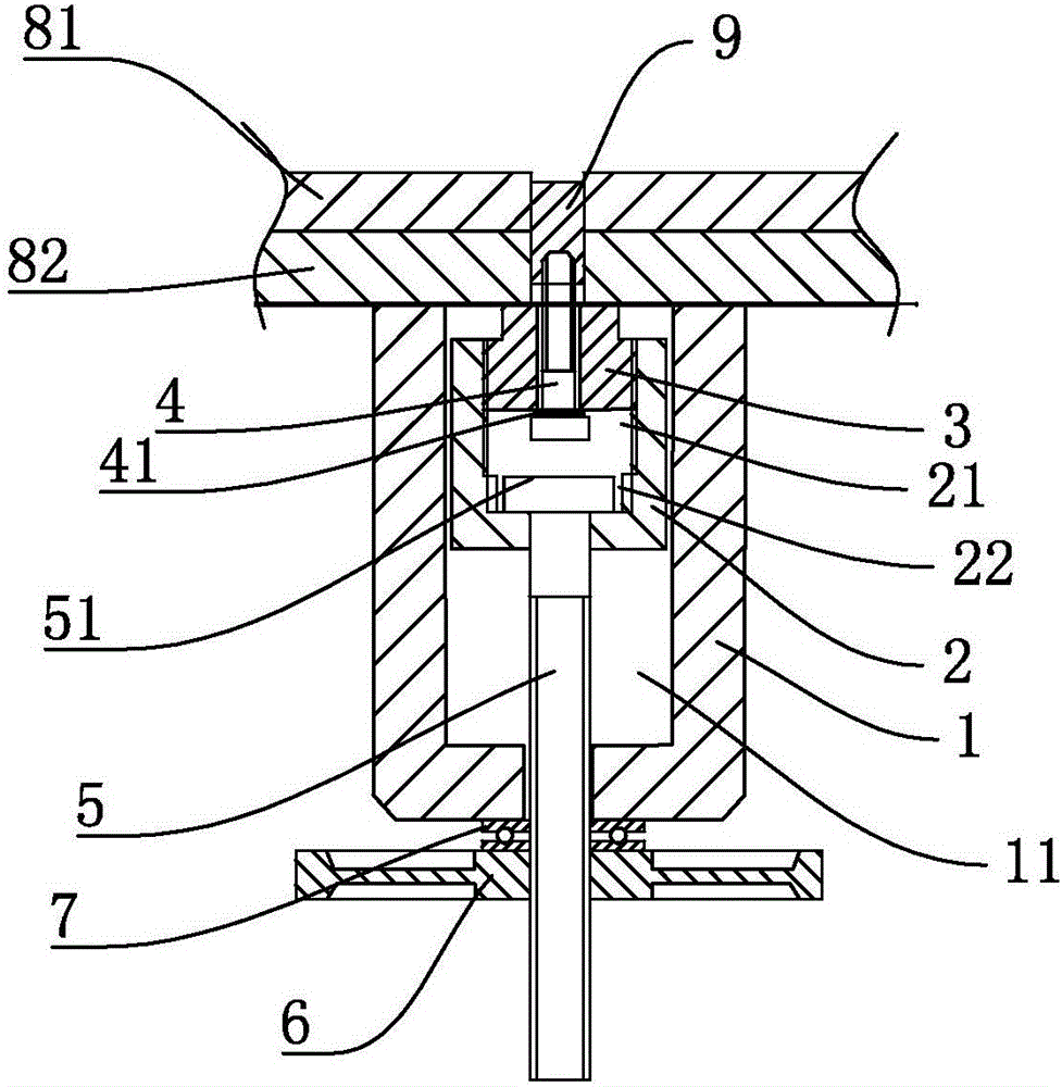
一种拔销器
图片尺寸977x1000
编个诗句
图片尺寸526x390
可快速拆模的拔销器
图片尺寸1624x806
柯朝工匠 拔销器 定位销轴拔出神器升级版手动拔销器 带牙螺纹圆取
图片尺寸750x1197