自制水泵架子

泵托架
图片尺寸570x423
深井泵架子,水泵架子.用来安装和维修深井泵用,物件太大,最好
图片尺寸225x300
抽水泵架子 万物皆可放 后悬挂架子放发电机 抽水泵 揉丝粉碎机
图片尺寸360x360
浙江水泵托架生产-黄页88网
图片尺寸750x340
一种抽水泵的简单支架的制作方法
图片尺寸440x318
一种泵站水泵安装支架的制作方法
图片尺寸1879x1896
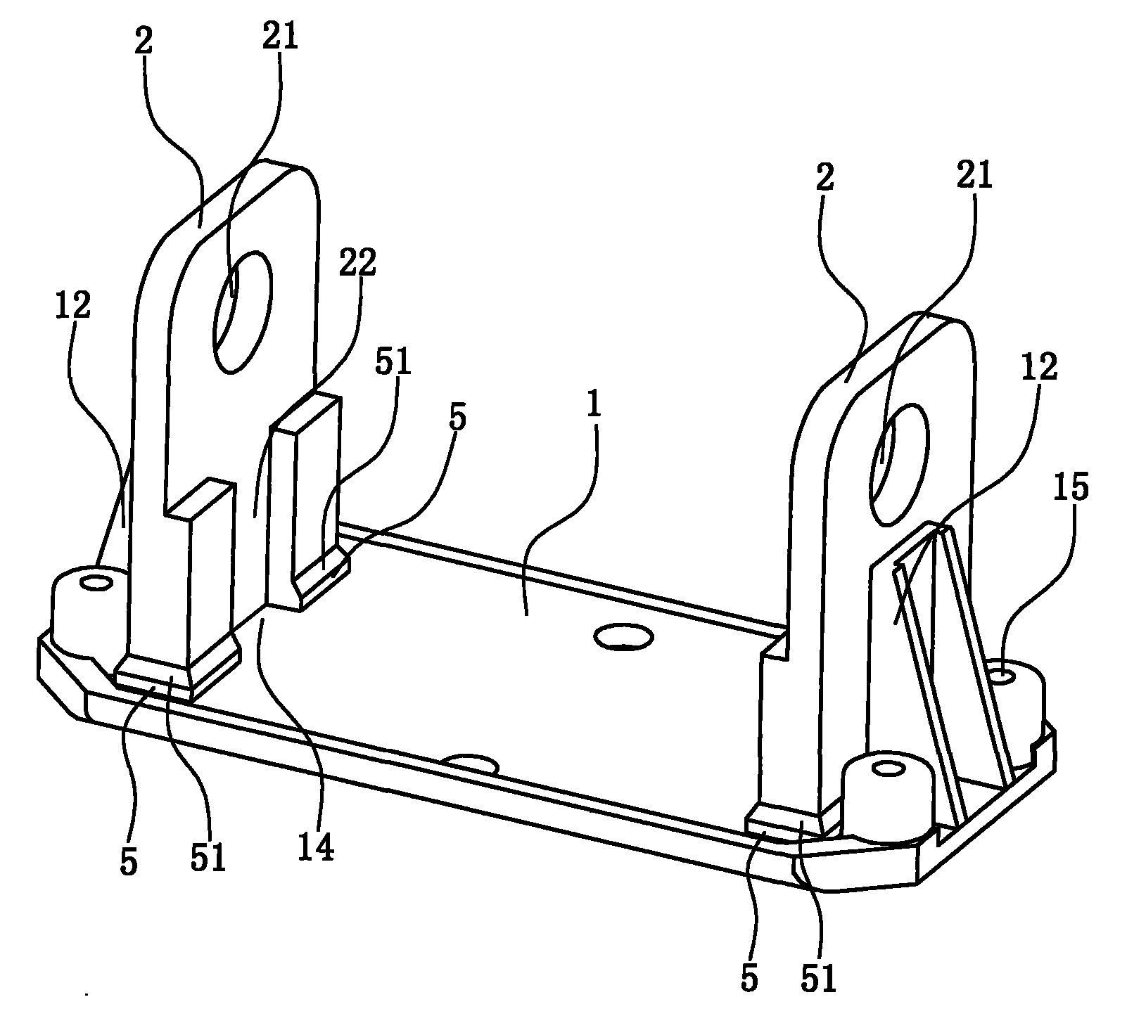
一种水泵支架的制作方法
图片尺寸374x444
初构想汽油机水泵自吸泵泵体架子2寸3寸抽水泵机架框架支撑架168f17
图片尺寸800x800
潜水泵井架水井灌溉齿轮井口吊装下泵固定架架子支架手摇工程农用
图片尺寸360x360
小哥利用pvc管,制作无动力抽水装置,效果真的很不错
图片尺寸658x370
电钻水泵配支架管箍便携式家用手电钻鱼缸抽水泵抽水器抽油泵手动自吸
图片尺寸800x800
废旧材料创意手工自制水井手摇水泵科技制作科学实验
图片尺寸3000x3000
手摇式潜水泵支架井架深井泵提升辅助工具农用灌溉工具水泵架子
图片尺寸1000x1000
50mm水泵支架
图片尺寸400x300
自制水泵支架
图片尺寸691x921
水泵安装支架
图片尺寸1602x1445
水泵安装支架不锈钢一体架自吸泵增压泵抽水机折叠架固定挂壁托架
图片尺寸300x300
柴油槽钢架子铁架支架担架可调万向汽油水泵水泵
图片尺寸800x800
水泵安装不锈钢支撑三角架自吸增压抽水机三脚架支架水泵
图片尺寸800x800
艾惠特不锈钢水泵安装支架通用配件固定增压泵底座专用架子托架减震
图片尺寸790x1167