自制蒸馏器最简单方法

简单蒸馏
图片尺寸486x347
简易水蒸气蒸馏装置图
图片尺寸463x261
用塑料瓶灯泡制作简易蒸馏器
图片尺寸1036x648
有机化学实验片段
图片尺寸1080x1439
几款蒸馏器介绍及其原理详解
图片尺寸510x622
经典造型的精油蒸馏器
图片尺寸600x452
三顺 教学仪器 一般蒸馏装置 标配500ml 蒸馏水装置 普口蒸馏器
图片尺寸306x217
用灯泡做蒸馏器教程教你蒸馏器如何做
图片尺寸600x450
酿酒设备家用小型蒸酒机器不锈钢白酒蒸馏烤酒纯露机包邮
图片尺寸922x925
酿酒家用螺旋旋盘设备蒸馏器小型酒器蒸馏白酒滤酒器
图片尺寸5184x3456
简易蒸馏器
图片尺寸447x666
小伙用废品做蒸馏器把海水淡化成饮用水
图片尺寸3456x2160
全304家用大小型作坊酿酒设备蒸酒器烧酒烤酒蒸馏器
图片尺寸3560x2388
谁说百无一用是书生小叔子自制蒸馏器为我们全家带来百万收益
图片尺寸720x1280
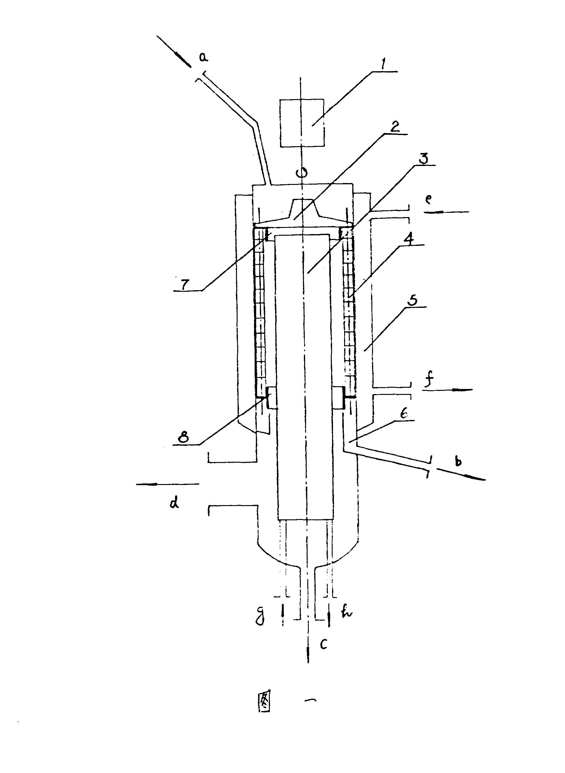
无挡板滚抹式薄膜短程蒸馏器
图片尺寸1824x2496
几款蒸馏器介绍及其原理详解
图片尺寸510x501
(向劭哲)简易太阳能蒸馏器
图片尺寸1080x1440
1801全玻璃蒸馏器 蒸馏装置 500ml 标口磨蛇形冷凝管 东莞化玻
图片尺寸404x345
帝伯仕新款紫铜威士忌白兰地蒸汽蒸馏器夏朗德葫酿酒机蒸馏器
图片尺寸800x800
几款蒸馏器介绍及其原理详解
图片尺寸510x559