自动切石机

全自动切石机
图片尺寸340x348
水刀石材切割机:高效精准的石材加工利器
图片尺寸1920x1440
lzs龙门自动切石机
图片尺寸953x823
四轴四驱圆盘锯切割机台式切石头的机器自动化切石机
图片尺寸790x830
安徽全自动切石机案例,来中巨机械;多年石材机械,切石机,切割 - 抖音
图片尺寸720x720
大理石自动切割机自动切石机如何使用
图片尺寸1080x1920
切石机|自动磨光机|桥式切石机|桥式中切机|红外线桥切机|自动切边机
图片尺寸1200x661
全自动切石机岩板加工中心大理石水刀切割机大型盘锯 - 爱企查
图片尺寸750x899
全自动数控锯石机 hqs-1800圆盘液压锯 山东石材机械
图片尺寸1000x1000
自动落料切石机
图片尺寸644x800
石材机械,小方块切石机,自动落料劈石机,厦门倍联机械工厂 cubic
图片尺寸1280x720
lzs型 龙门圆柱自动圆盘切石机
图片尺寸600x520
台式石材切边机大石头切割机电动切割机瓷砖石材加工机械
图片尺寸790x1613
全自动切石机 瓷砖切割机 花岗岩切割机
图片尺寸750x1412
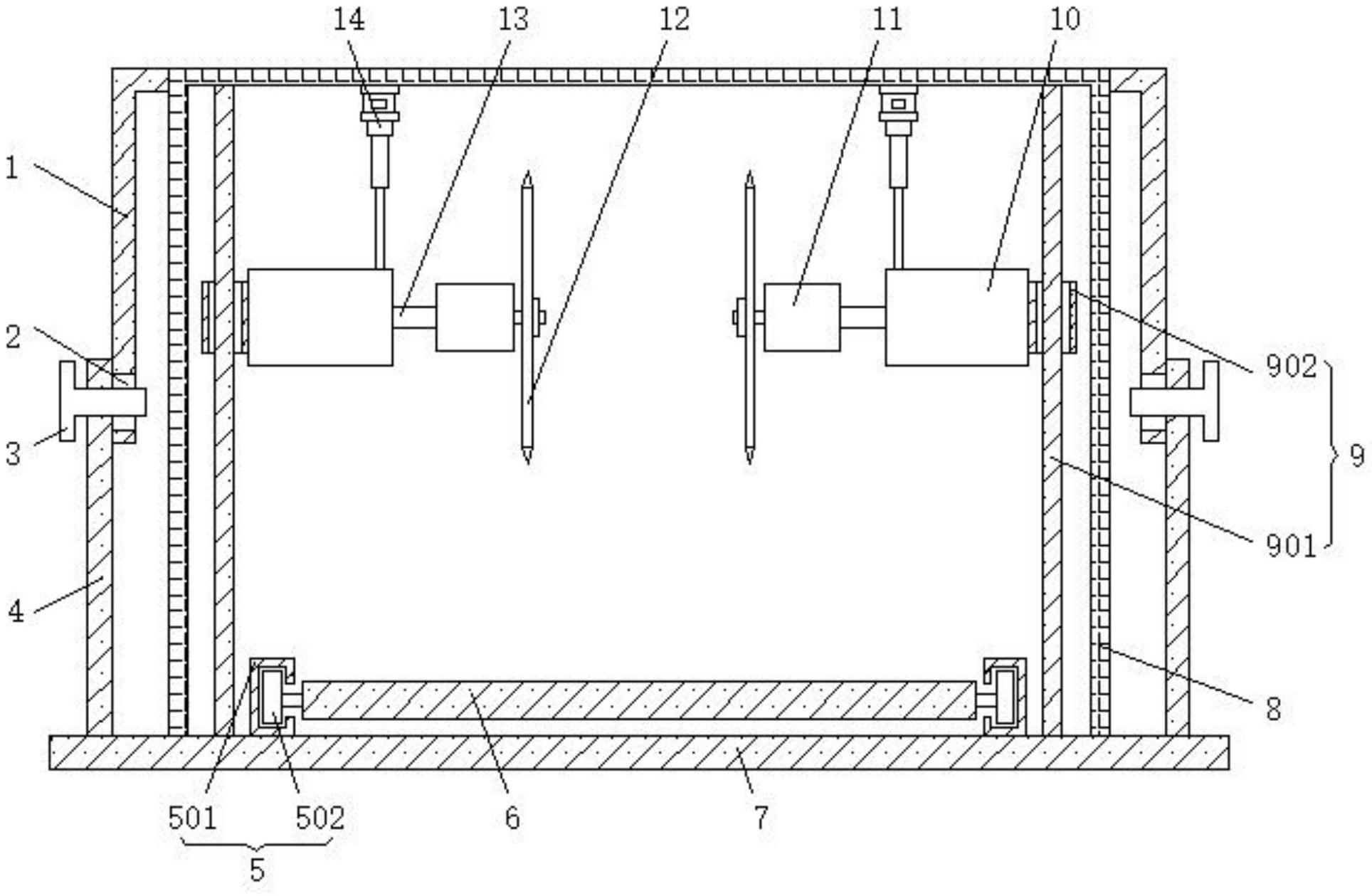
一种高效自动切石机
图片尺寸1928x1259
军磊数控岩板切割机四轴五轴红外线桥切机45倒角石英石加工中心
图片尺寸1728x1080
保定龙门切石机公司|冠源机械提供有品质的龙门切石机
图片尺寸960x1280
江苏全自动切割机公司,建议找泉州中巨机械;多年石材机械,切石 - 抖音
图片尺寸720x720
供应 玉石切割切片机 花岗岩大理石鹅卵石水切切割机 石材开料机
图片尺寸1920x1920
自动多刀切石机
图片尺寸800x612