自动扶梯立面图

商场自动扶梯平面立面节点大样图cad图纸
图片尺寸1350x1080
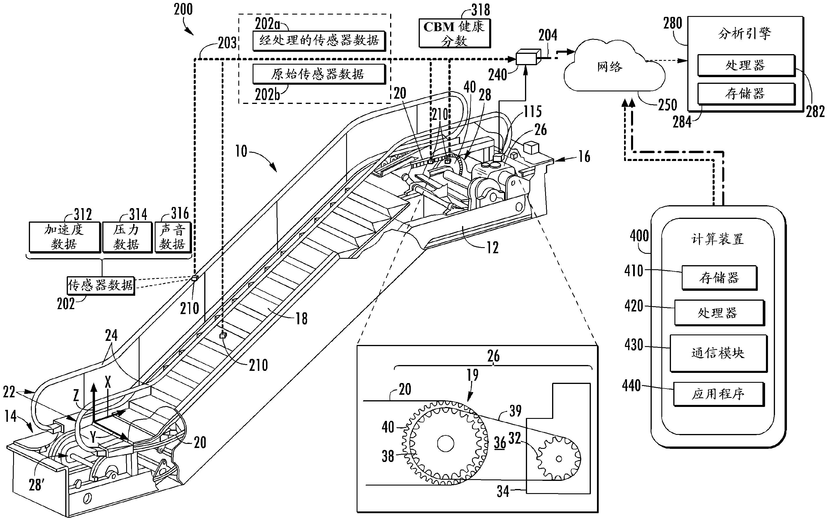
使用自动扶梯上物联网传感器和传感器位置分析构件频率
图片尺寸2842x1783
电自动扶梯滚梯大样cad施工详图集 8套cad图纸
图片尺寸1443x1080
自动扶梯
图片尺寸1268x658
自动扶梯入口探测系统
图片尺寸1773x2399
yuruyen自动扶梯模型3d图纸 solidworks设计
图片尺寸1080x686
九,自动扶梯的安全保护装置自动扶梯及自动人行道的安全性非常重要
图片尺寸2000x1222
自动扶梯大样图
图片尺寸2001x2031
#电梯检验员#自动扶梯
图片尺寸1080x2024
自动扶梯的构成与功能解析
图片尺寸800x592
自动扶梯cad图纸
图片尺寸800x1131
【2025年二建机电实务备考知识点】问题:自动扶梯示意图中
图片尺寸1024x801
其中,桁架用于支撑和安装自动扶梯各类部件,并承
图片尺寸590x817
垂直客梯与自动扶梯的运量比1:10一,自动扶梯主要参数购物中心扶梯
图片尺寸1080x647
自动扶梯上的物联网上的传感器融合
图片尺寸2848x1784
自动扶梯正面示意图
图片尺寸393x1200
自动扶梯施工详图cad图纸
图片尺寸1314x1066
图片尺寸750x948
自动扶梯详图 平立剖
图片尺寸889x803
一种嵌入式更新型自动扶梯的制作方法
图片尺寸1000x497