自动折叠机构

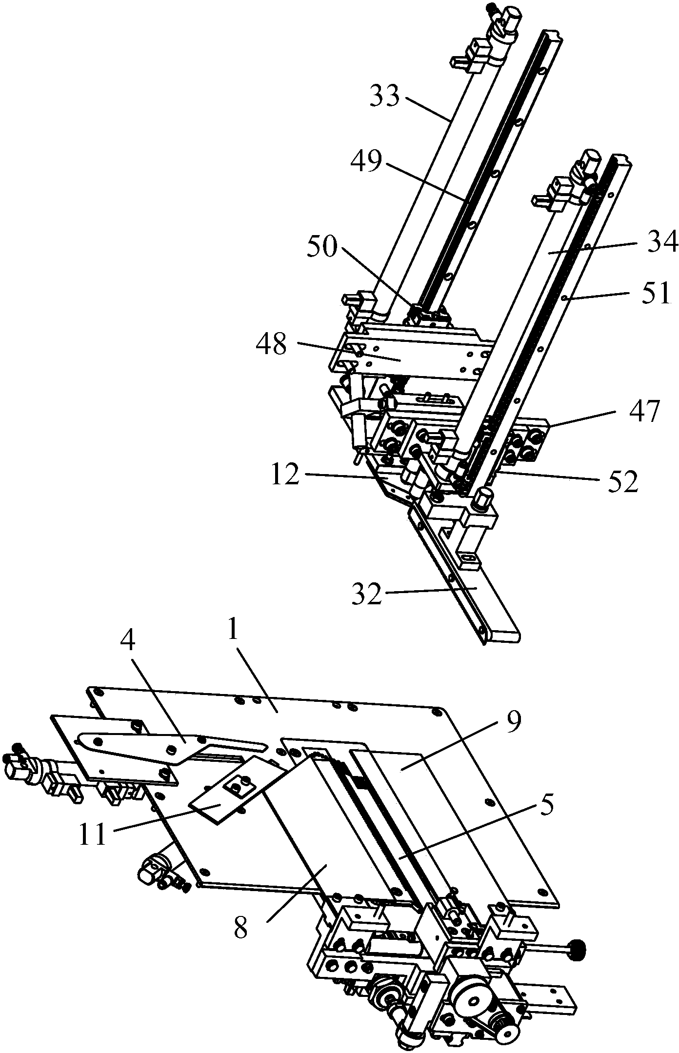
本实用新型提供了一种一次性手套的自动折叠装置,包括机架,上下料机构
图片尺寸1919x1912
cn108505230a_一种自动折叠机构,及袖叉缝制设备有效
图片尺寸1392x2159
通过左右双翻板传动机构折叠衣服的两侧,通过前后单翻板传动机构对
图片尺寸1507x1112
折叠自行车的折叠装置
图片尺寸2447x1857
cn213413241u_一种自动折叠设备有效
图片尺寸1079x1178
折叠机构
图片尺寸518x541
一种柔质布料折叠机构及应用该机构的毛巾折叠装置
图片尺寸1936x1992
自动耳片折叠机-爱企查
图片尺寸1634x1733
自动折叠机包括:文件推送机构(2),将文件推送到自动折叠位置(s),文件
图片尺寸1828x1119
折叠楼梯的机械结构,它是运转的?
图片尺寸448x252
新型公开了一种自动折叠学习桌,包括桌板,两个支撑部,两个驱动机构
图片尺寸1947x1490
快速折叠机构
图片尺寸300x225
一种编织袋袋口自动折叠机以及生产方法
图片尺寸1979x1837
用于将折叠椅部件依次置于成型模上的零件自动补料机构,用于将折叠椅
图片尺寸1260x1510
一种洗唛自动折叠机构的制作方法
图片尺寸1000x852
全自动折叠机折叠机构制造技术
图片尺寸1000x696
一种折叠机构及跑步机
图片尺寸1740x2034
自动折叠腿机械结构,看看这个巧妙的设计!-科技视频-搜狐视频
图片尺寸640x359
纸张自动折叠装填机构-爱企查
图片尺寸1354x1839
产品自动折叠机构
图片尺寸300x225