自动捶打机装置

仿手工捶打一体机#食品机械 #打粑粑机#年糕 - 抖音
图片尺寸1440x3164
糍粑机器机械全自动捶打糯米糍绞鸡架碎骨机绞辣椒灌香肠机绞鱼机
图片尺寸750x800
肩背按摩器仪敲敲乐肩膀电动纳丽雅(naliya)自动捶打披肩颈肩周敲打
图片尺寸800x800
贵州镇远青年徐昭才 研发自动捶布机畅销省内外_腾讯新闻
图片尺寸720x979
全自动打铁空气锤 连体式打铁空气锤价格 锻造捶打机
图片尺寸750x750
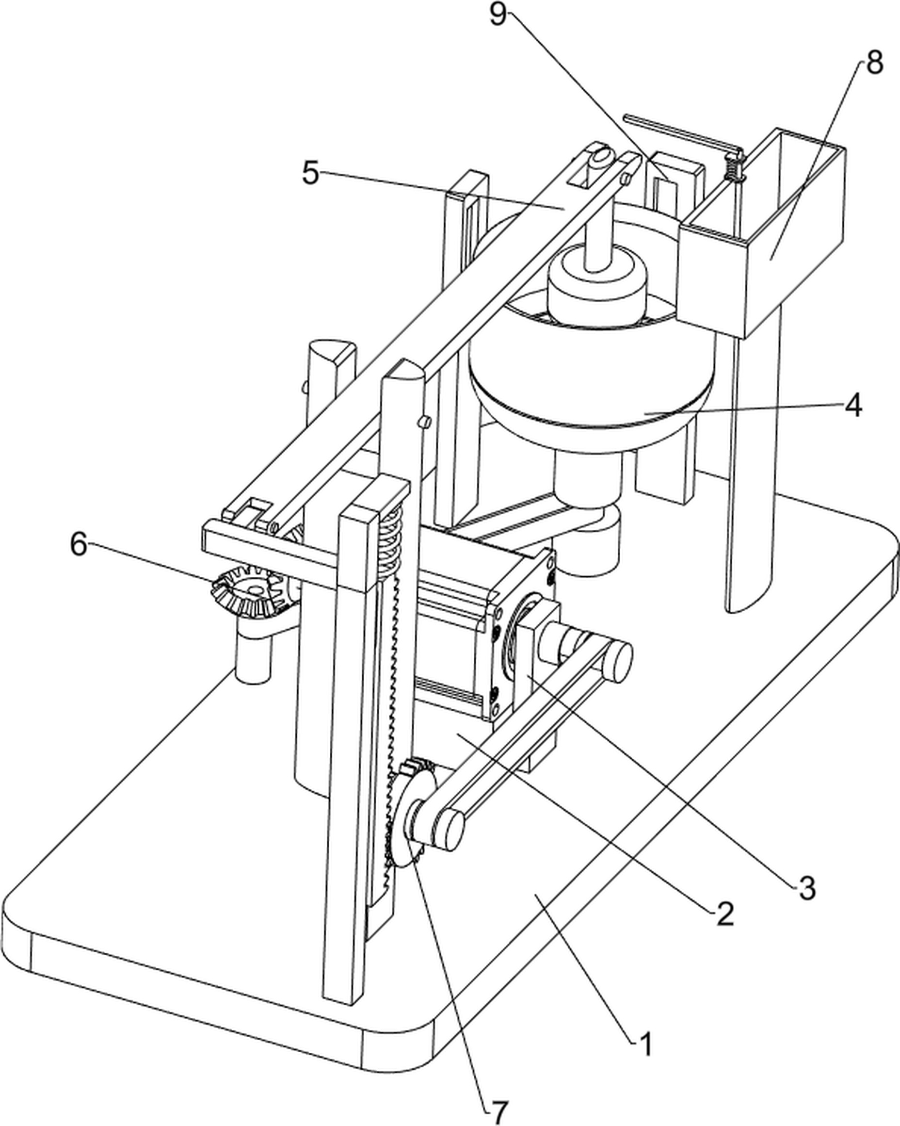
一种拍打式糍粑捶打装置
图片尺寸1856x2321
福建洋芋土豆捶打搅团机价格多年生产经验2021
图片尺寸600x400
石臼捣绒机电动锤糍粑捶打艾绒机电动石磨石碾古法制绒家用艾叶机
图片尺寸300x300
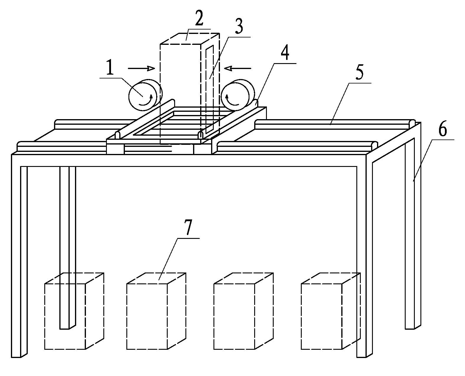
用于手工异型耐火砖的半自动捶打成型装置
图片尺寸1575x1275
厂家供应 全自动打铁空气锤 连体式打铁空气锤价格 锻造捶打机 图
图片尺寸750x750
一种五金件加工用连续捶打装置-爱企查
图片尺寸799x498
墙面自动捶打装置制造方法及图纸
图片尺寸1000x665
一种艾绒加工用捶打装置-爱企查
图片尺寸800x768
两大商标应用领域覆盖35个表面喷涂行业1514年专注自动化喷涂设备生产
图片尺寸721x469
一种年糕糯米自动捶打装置的制作方法
图片尺寸574x295
奥克斯(aux) 按摩椅家用机械手双sl导轨捶打揉捏全自动多功能全身太空
图片尺寸788x1339
夹杆锤夯填机用自动填料装置
图片尺寸2552x1658
捶背敲打锤自动劲肩颈椎肩背按摩器仪敲打乐披肩式颈肩电动自动锤加热
图片尺寸750x493
一种自动捶糍粑装置的制作方法
图片尺寸307x481
牛肉捶打机
图片尺寸1080x1920