自动插销原理图

一种可自动回弹插销-爱企查
图片尺寸1152x1580
一种可调节门窗柜自动插销
图片尺寸1949x1277
一种双向自限位插销的制作方法
图片尺寸444x272
cn201080750y_自锁插销失效
图片尺寸800x529
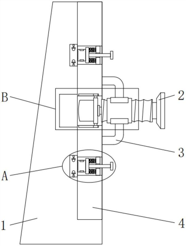
单缸插销伸缩机构
图片尺寸1080x810
一种液压插销机构的制作方法
图片尺寸1000x469
插销带弹簧锌合金设备门自动弹簧插销锁工业弹簧门销
图片尺寸658x532
一种插销导向锁止结构以及防开启防脱落插销的制作方法
图片尺寸444x305
一种用于销轴止动的插销
图片尺寸1776x1258
快卸销 按钮快锁插销 b型球头锁销 直径9/10 长10/15/20~100现货
图片尺寸800x487
一种双向门插销的制作方法
图片尺寸1000x743
优质供应不锈钢自动弹簧插销 自动门插销 明装插销 门栓门扣
图片尺寸750x500
厂价直销不锈钢弹簧插销固定销弹插手枪型插销yk64001s活动销子
图片尺寸680x515
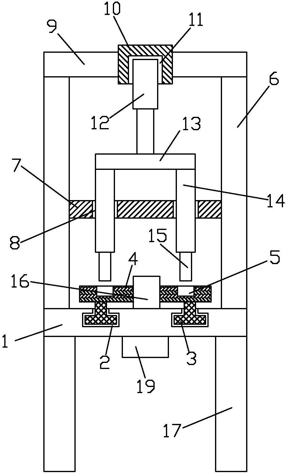
插销装置
图片尺寸1622x976
门窗自动插销
图片尺寸2528x1860
cn209369314u_一种盘扣脚手架插销
图片尺寸957x1000
cn2128292y_窗用插销锁失效
图片尺寸800x1090
一种提高安全系数的插销装置-爱企查
图片尺寸603x800
一种蚊香器插销的自动化铆接装置
图片尺寸941x1551
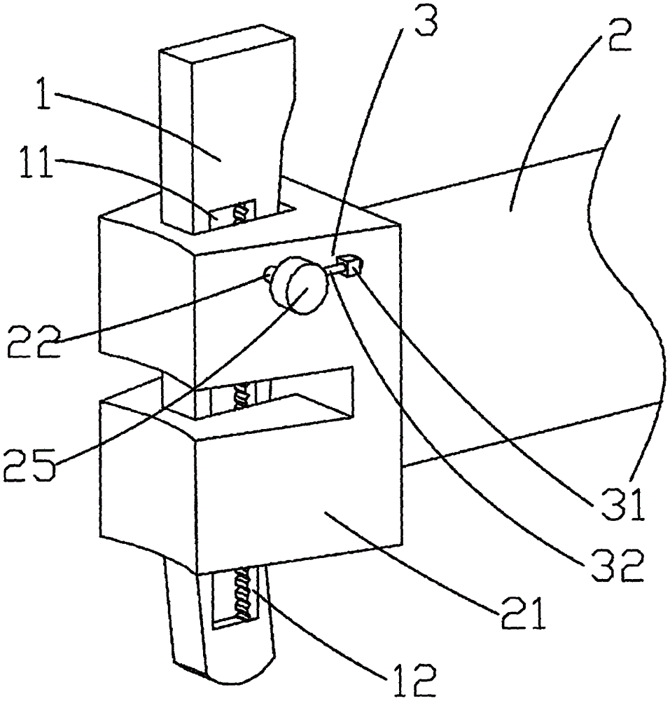
一种插销的制作方法
图片尺寸937x811