自动收缩卷绳装置

自动收线放线机电缆绕线机钢丝绳缠绕500毫米线轴电缆收线机械
图片尺寸1800x2127
启庞公司纱线绳子小型收卷机
图片尺寸1920x2083
工业悬挂自动回缩收线盒可停顿卡位卷线器装置钢丝绳 1kg拉力-1米长
图片尺寸800x800
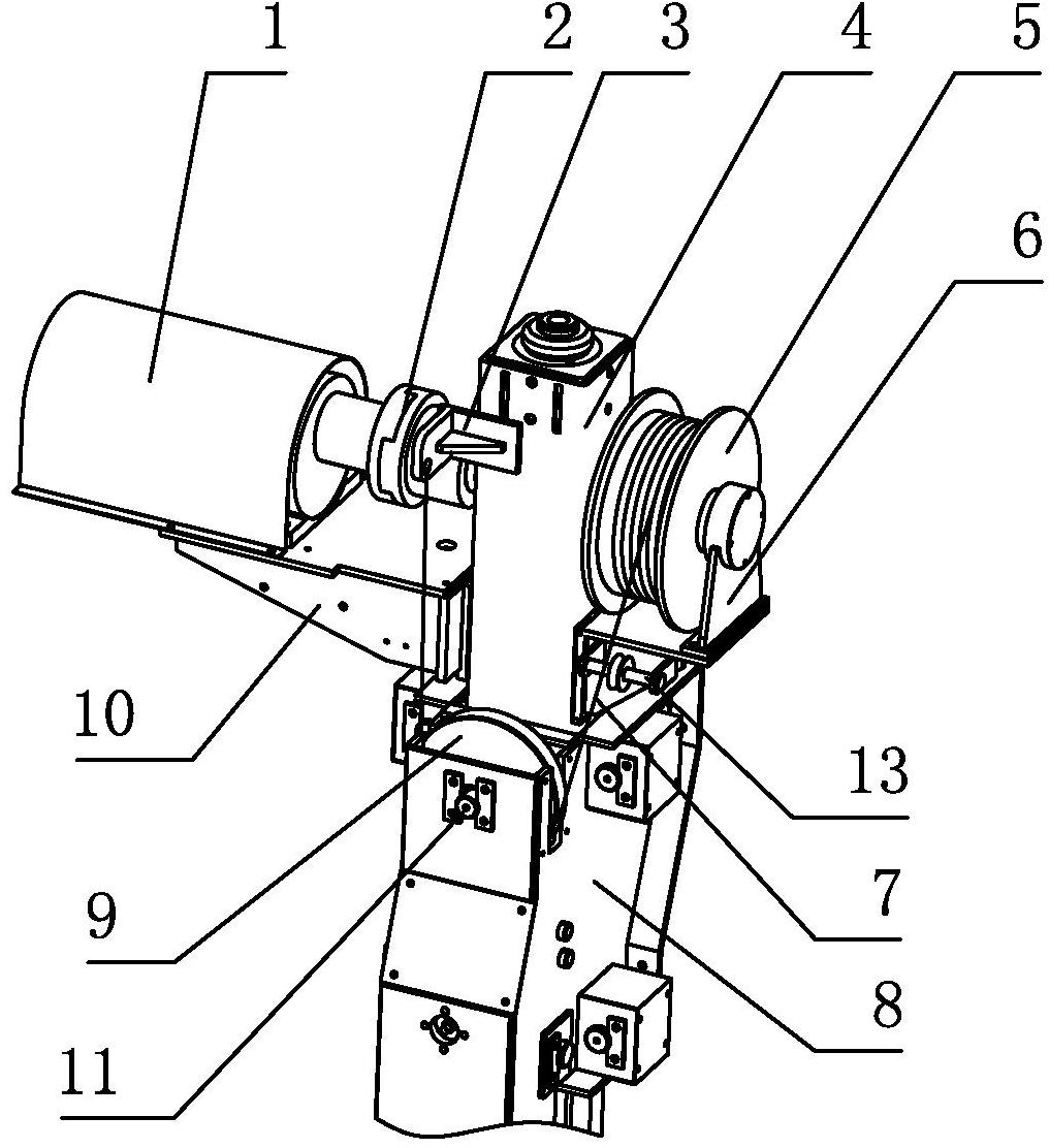
本技术涉及拉紧器装置领域,尤其是一种自动收绳拉紧器.
图片尺寸1990x1363
钢丝绳导向提升装置-爱企查
图片尺寸1016x1112
主营生产五金汽保工具自动伸缩电缆卷轴工厂车间电鼓绕线器卷管器
图片尺寸1920x1920
保护装置:电动机,减速器,制动器,卷筒,滑轮组件,钢丝绳和配件卷扬系统
图片尺寸750x1000
多层缠绕的卷筒,应采用适用的排绳装置或便于钢丝绳自动转层缠绕的
图片尺寸494x402
图摘要本发明提供了一种牵导引绳自动液压快速收线装置,包括收卷机构
图片尺寸800x594
太原自动气动绞车排绳装置生产商直销
图片尺寸720x540
电动工业卷扬机自排绳机械式限位0.5吨小.该款"一字型工业卷 - 抖音
图片尺寸594x813
一种钢丝绳的收卷拉紧装置的制作方法
图片尺寸1442x1206
剧院绞车欧式自排绳多点吊杆机酒吧舞台灯光
图片尺寸1920x1440
3米/3米拉伸收缩钢丝绳自动卷线盘不带自锁平衡器 sba15 0.51.
图片尺寸800x800
强生自动伸缩电鼓回收卷线器批发卷管绕管器自动收缩排插国标电缆
图片尺寸1920x1569
工业悬挂自动回缩收线盒可停顿卡位卷线器装置钢丝绳大码力拉绳器
图片尺寸800x800
(3)过卷保护装置.
图片尺寸640x427
失手绳自动伸缩盒式失手绳钓箱钓椅护杆绳子收缩溜鱼器 渔具i 自动失
图片尺寸800x800
定制绕绳盘电鼓卷线器自动收缩卷线盘网线理线器10米排线器信号线
图片尺寸800x800
5米线伸缩卷线盘自动伸缩绕线盘电源线收纳卷线器8谬-阿里巴巴
图片尺寸1920x1920