自动收缩环

土壤收缩仪
图片尺寸750x750
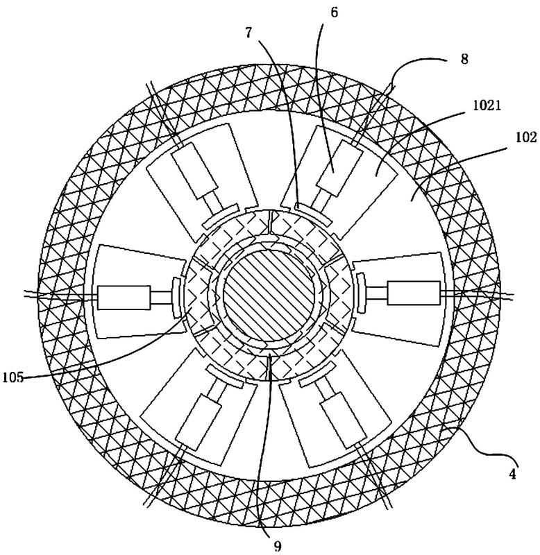
另一端安装支撑座(可打开的),支撑座上外端固定一个加热环(8-10个喷嘴
图片尺寸600x600
绳结活扣收缩_绳结活扣收缩环_绳结活扣收缩双向 - 抖音
图片尺寸330x587
自润滑氮化硅陶瓷圆环烧制砂眼问题解决经验分享
图片尺寸660x660
镀锌新款湖南省螺丝花篮螺收紧扣号法兰拉勾膨涨丝环紧固件谅衣架
图片尺寸300x300
探究黑灰色氮化硅陶瓷长条的耐温极限
图片尺寸660x660
芨芨草扫把扣压机芨芨草钢环缩把机液压芨芨草扫帚机器
图片尺寸1000x1000
中诺电机铝壳加热器stha-1/2/3/4/5/6电磁感应加热滑轮齿圈收缩环
图片尺寸750x750
6/8/12/24/40/100电机铝壳加热器-阿里巴巴
图片尺寸750x750
抗洪抢险远距离安全施救遇险被困人员收缩后长≤1.
图片尺寸750x750
杠杆棘轮式紧锁具棘轮链条拉紧器收紧器链条收紧器双
图片尺寸990x1761
5psi)的强大收缩力,将环稳固地缩套在qe主体上,qe记忆环,qe主体与pe
图片尺寸550x487
专业制造与销售一体自动化包装设备 枕式包装机 立式包装机 热收缩
图片尺寸919x1226
华丰巨箭汽保汽车维修工具活塞环压缩器安装工具 活塞环收缩器
图片尺寸990x990
火车用钢丝绳索拉紧器钢丝绳防断裂收紧器外置式货车防溜绑线器雷力
图片尺寸750x751
包括依次设置的光杆段,装配扳拧段和螺纹段;在所述光杆段上设有环槽
图片尺寸1591x1425
3,未留有保压残余量,则造成收缩,或是对应装止逆环的树脂未使用止逆环
图片尺寸600x450
一种热收缩管扩张后预冷却机构-爱企查
图片尺寸778x800
防滑链配件零部件安装扳手双勾横链侧链凸轮板天鹅扣收紧器连接环
图片尺寸1052x1052
小型自动钢管缩管机用途有哪些
图片尺寸1000x1333