自动牙签原理图片

自动牙签盒的工作原理是什么
图片尺寸758x532
自动牙签盒的工作原理是什么
图片尺寸772x519
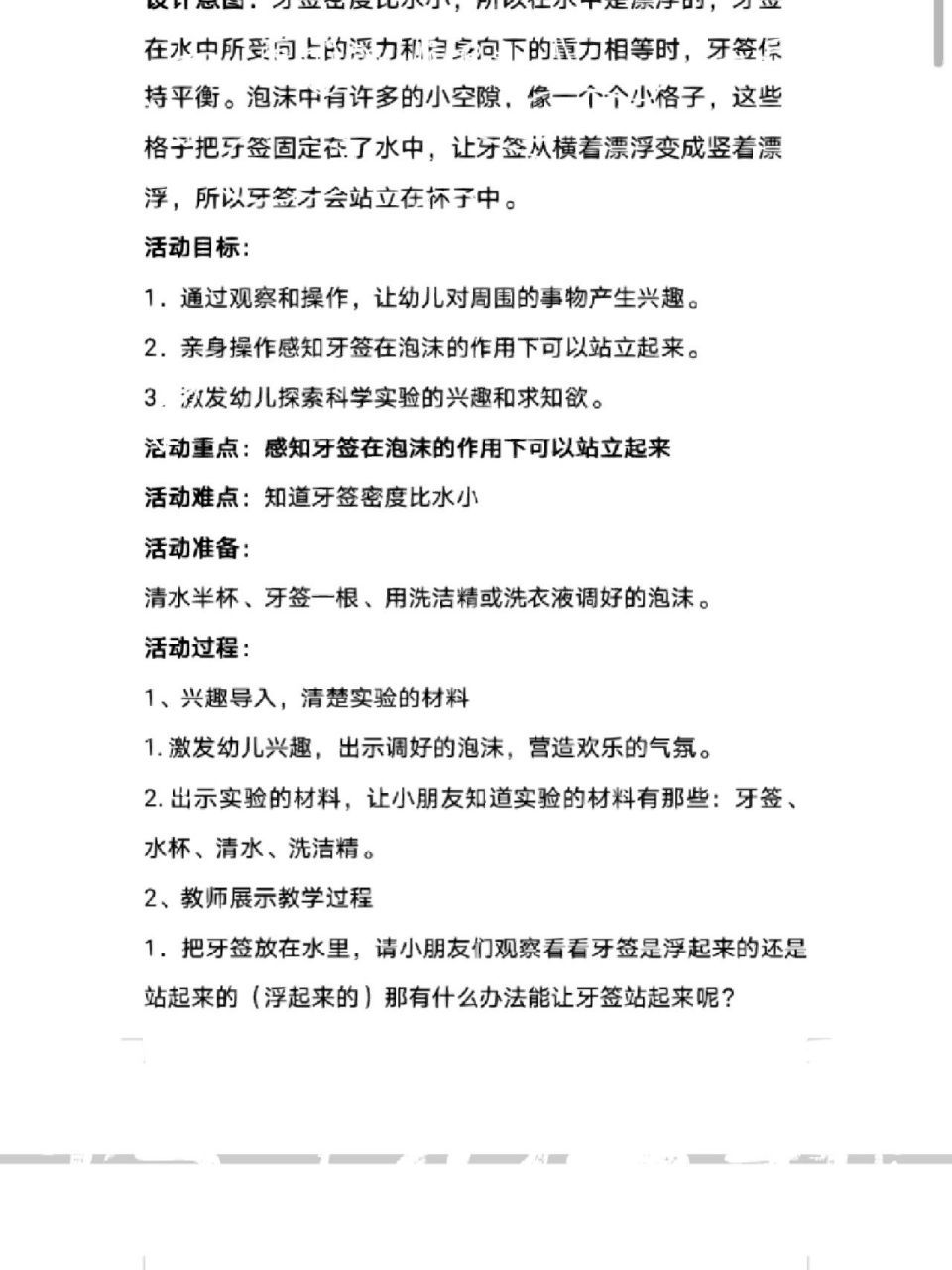
站立的牙签实验原理 孩子之前学校布置的小作业,研究站立的牙签的
图片尺寸958x1280
自动牙签盒的工作原理是什么
图片尺寸765x534
自动牙签盒
图片尺寸1218x1463
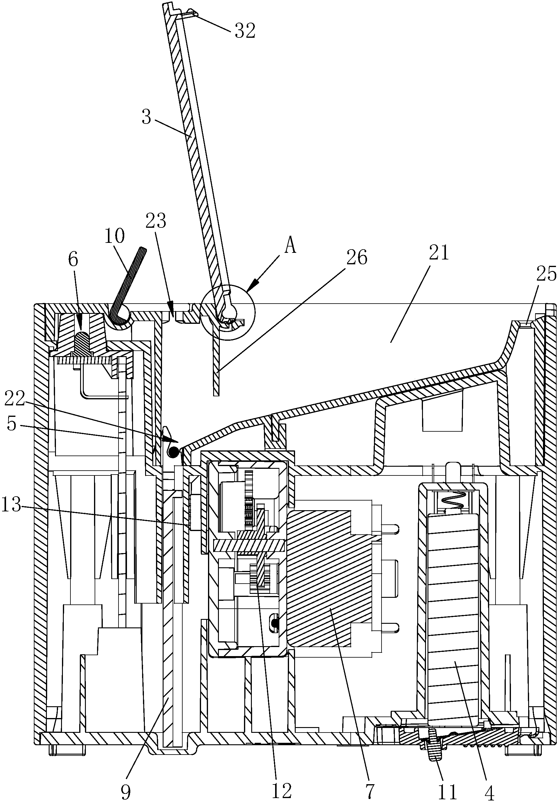
010_按压式牙签盒工作原理_按压式_原理_工作
图片尺寸3240x2160
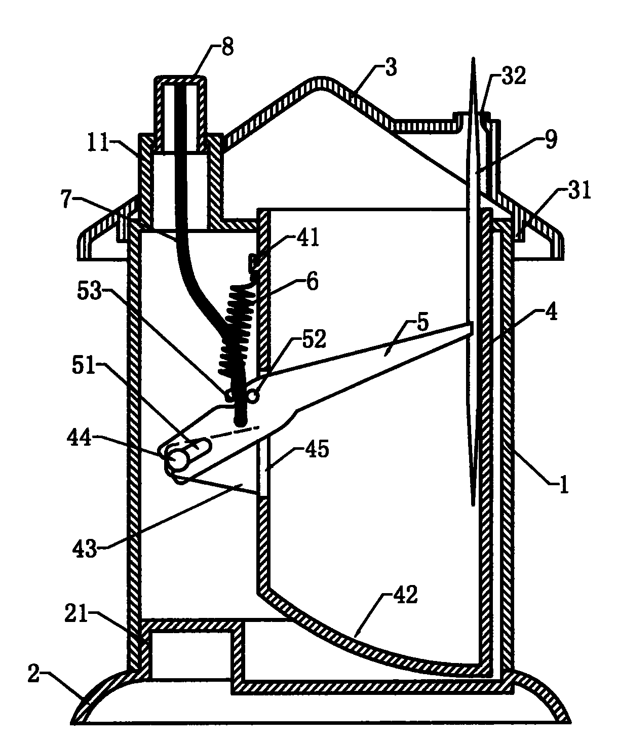
全自动牙签盒的制作方法
图片尺寸390x514
永威小学四年级特色作业汇总
图片尺寸1080x1527
站立的牙签实验原理 孩子之前学校布置的小作业,研究站立的牙签的
图片尺寸958x1280
自动牙签机
图片尺寸1849x2655
安雅自动牙签筒手压按压酒店餐厅餐桌时尚可爱创意家居牙签筒便携简约
图片尺寸790x1003
cn2043231u_自动筷盒失效
图片尺寸1952x2592
cn2227458y_一种新型自动牙签座失效
图片尺寸800x1032
科学小实验,站立的牙签,你知道这是什么原理吗?
图片尺寸1080x811
1717科学小实验——牙签的奇妙变化
图片尺寸1080x1920
牙签可以自动变成五角星?把五根牙签掰弯,试试就知道!
图片尺寸1728x1080
幼儿园科学小实验站立的牙签
图片尺寸1080x1440
这款牙签盒太好用啦!轻轻按压,自动弹出,省时省力又方便.环保 - 抖音
图片尺寸1440x1924
小鸟牙签盒自动按压智能可爱牙签筒摁压出牙签罐时尚高档 黄鸟黄底 一
图片尺寸790x990
中班科学小实验,《会站立的牙签》
图片尺寸960x1280