自动碰锁结构

攀登自锁器 自锁器
图片尺寸440x526
指纹锁体验再升级——德施曼小嘀q3全自动智能锁
图片尺寸860x452
cn208132313u_一种焊接夹具用气动自锁装置有效
图片尺寸1379x1813
cn211038170u_一种自吸式锁有效
图片尺寸693x1000
操作机构的自锁机构的制作方法
图片尺寸451x1000
自动锁体的制作方法
图片尺寸1000x961
一种全自动锁体
图片尺寸1118x2377
一种全自动智能锁的制作方法
图片尺寸1000x540
一种推车自锁机构
图片尺寸1534x728
一种新型自锁机构制造技术
图片尺寸510x1000
气缸强力自锁机构图
图片尺寸820x645
其内部结构图如下:根据宣传内容,这种联动锁体主要是为了解决全自动锁
图片尺寸800x397
image
图片尺寸1000x481
弹簧,方舌摆臂和弹簧固定柱,其在方舌摆臂前部上设置有弹簧卡位结构
图片尺寸1000x626
微型按压自锁扣图纸
图片尺寸813x676
自弹锁体 自动碰锁锁体 自弹碰锁锁体 电子锁体 指纹锁锁体电子锁
图片尺寸743x632
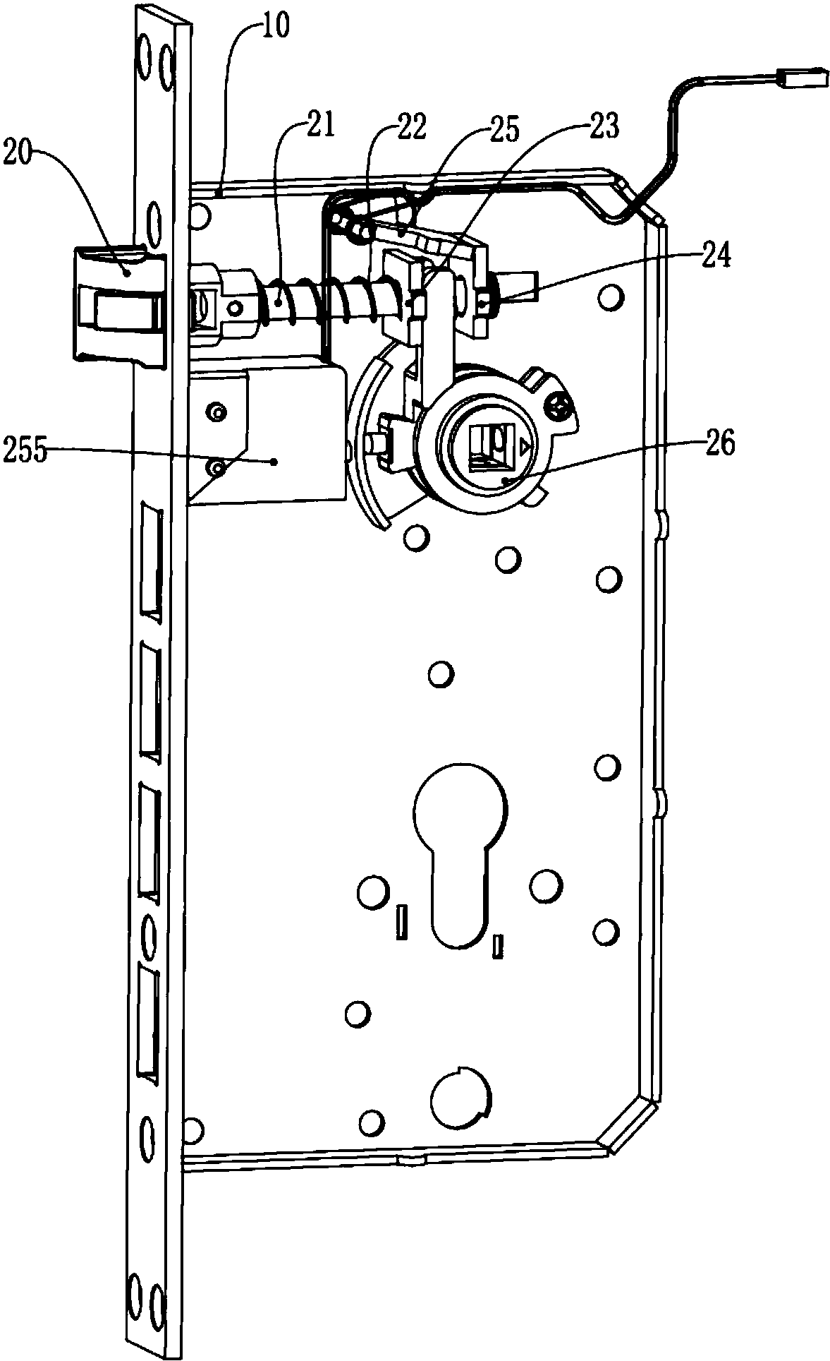
一种全自动智能锁体结构
图片尺寸1273x1699
门锁锁体自动开锁结构
图片尺寸837x1000
艾创米:揭露指纹锁到底是由哪些部件组成的?
图片尺寸1440x974
一种智能锁的快速换向机构
图片尺寸1177x1928