自动胶带机原理

一种半自动贴胶带机的制作方法
图片尺寸1000x900
胶带机原理图
图片尺寸784x487
胶带运输机构造原理图图片
图片尺寸991x974
自动贴胶带供料机的制作方法
图片尺寸378x457
一种自动贴胶带机的制作方法
图片尺寸444x296
一种电芯自动贴胶机的制作方法
图片尺寸923x1000
环形包胶带机-爱企查
图片尺寸1172x1547
自动打包机
图片尺寸3000x3000
m-1000全自动胶带机胶纸机双面胶布切割机高温透明胶带切割机 m-1000
图片尺寸750x544
胶带机的驱动装置-爱企查
图片尺寸972x709
自动贴胶带贴膜产线3d图纸贴胶带机贴膜机剪切机挤压机粘贴机
图片尺寸601x659
cn106476324a_一种自动上胶与贴不干胶带的糊箱机在审
图片尺寸1000x788
粘附滤纸剥离测试大揭秘原理与设备详解
图片尺寸943x1418
自动封箱机原理
图片尺寸660x515
数码印花机喷头矫正(数码印花机喷头结构图)宏华数码印花机生产工艺
图片尺寸443x430
全自动封箱机打包机电商流水线专用捆扎机邮政小纸箱胶带机包裹飞机盒
图片尺寸790x984
成都全套胶带机分切机多少钱,四川全自动胶带机分条机多少钱一台
图片尺寸1080x1440
广东惠州转让二手透明胶带机透明胶带分切机
图片尺寸1280x960
全自动封箱机的工作原理:科技与效率的完美结合_纸箱_生产_胶带
图片尺寸400x343
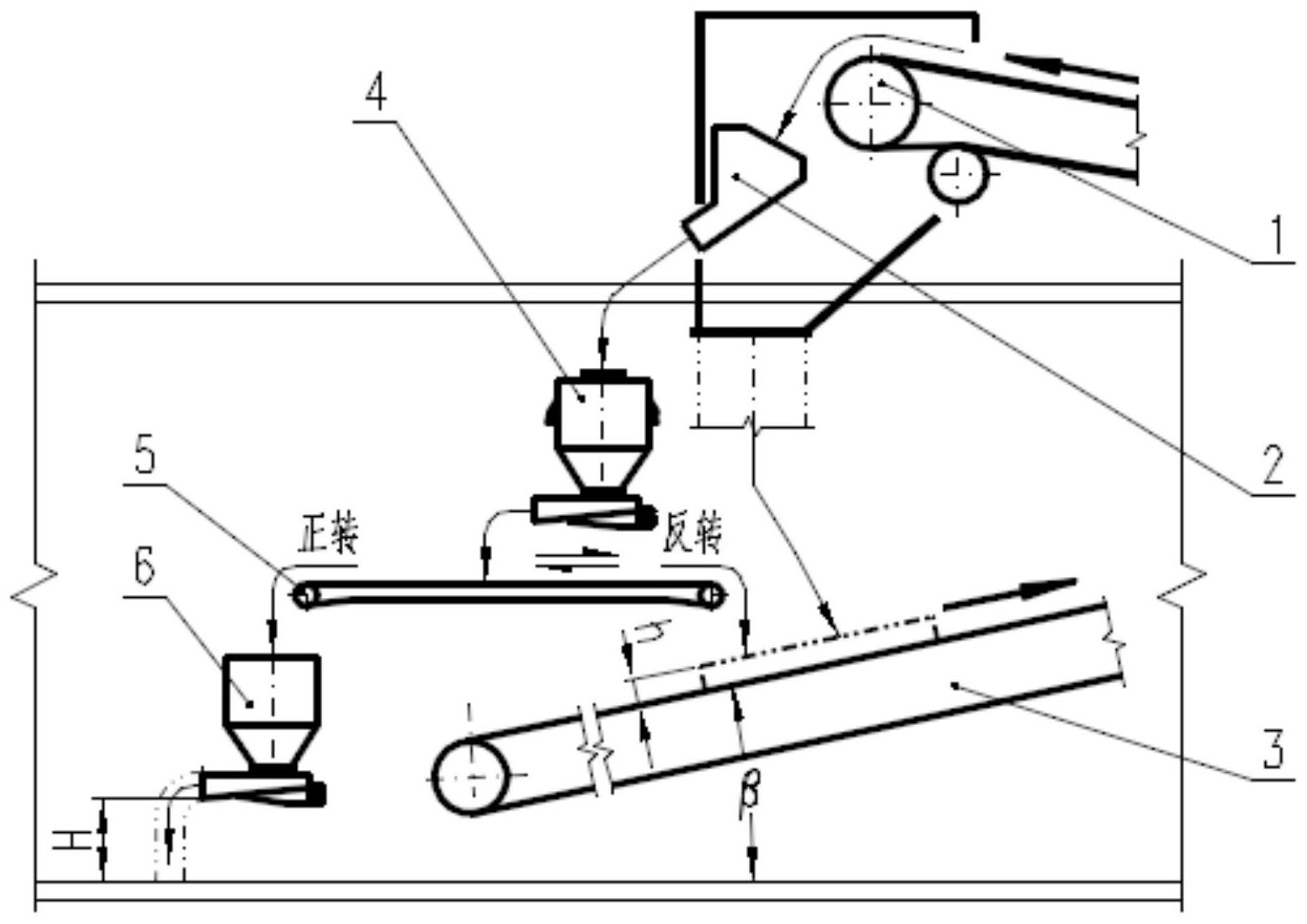
装置包括槽下胶带机,采样移动斗,上料主胶带机,样料称量斗,可逆胶带机
图片尺寸1562x1105