自动装箱机简图

一种全自动装箱机-爱企查
图片尺寸1827x1638
一种水果自动计数装箱机的制作方法
图片尺寸1000x619
一种鸡蛋自动装箱机-爱企查
图片尺寸2547x1859
一种自动化智能装箱机的制作方法
图片尺寸1000x463
一种自动装箱机-爱企查
图片尺寸1931x1559
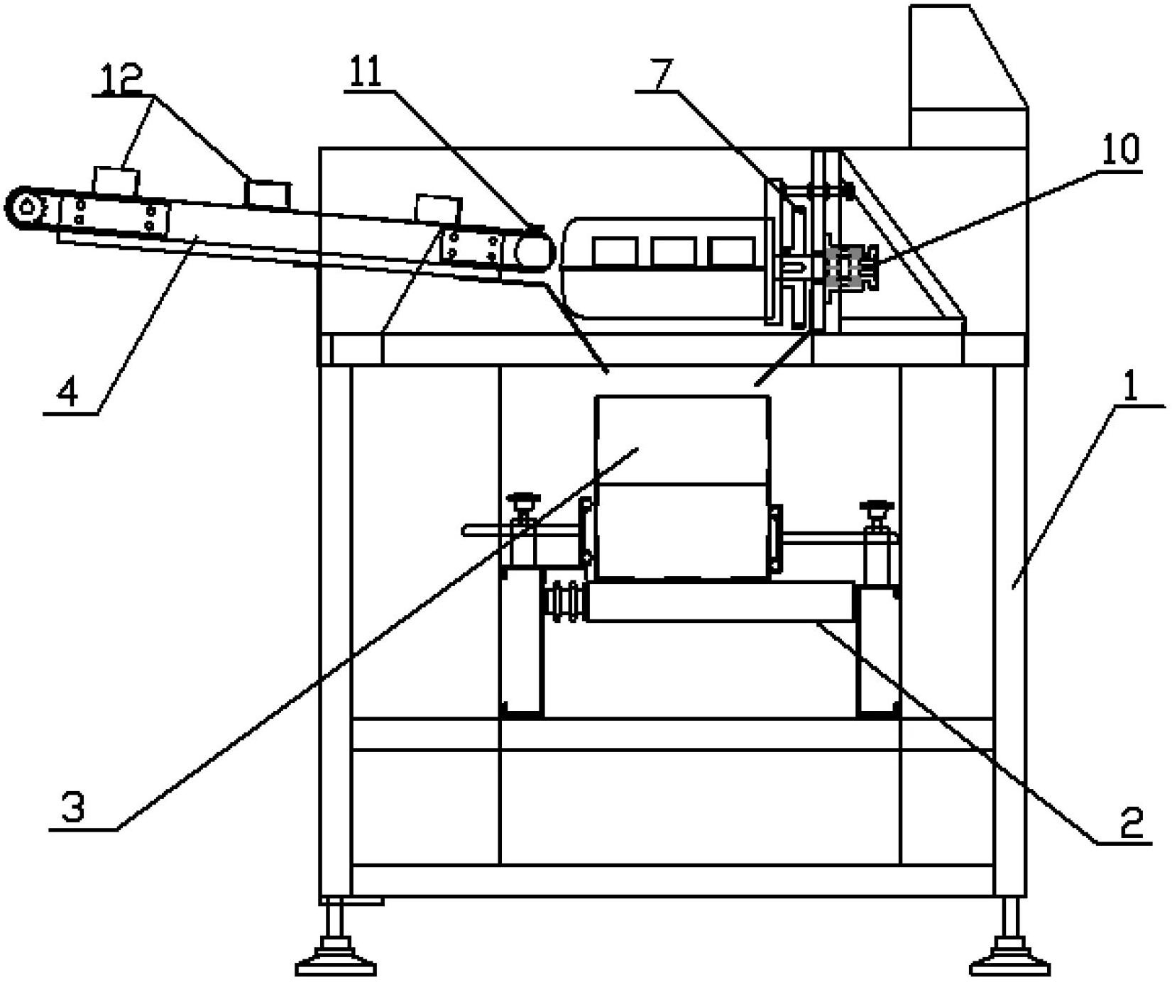
推入式自动装箱机的上料机构及其推入式自动装箱机
图片尺寸1000x805
跌落式自动计数装箱机-爱企查
图片尺寸1651x1384
一种装箱速度快的自动装箱机的制作方法
图片尺寸358x443
一种自动装箱机
图片尺寸1788x1518
一种高效装箱机的制作方法
图片尺寸1000x899
一种自动装箱机
图片尺寸997x1000
一种自动封箱机的制作方法
图片尺寸1000x771
背景技术:随着科技的进步,化妆品装盒已经由传动的人工包装过渡到自动
图片尺寸1000x738
一种自动装盒机的制作方法
图片尺寸965x1000
一种纸箱内衬板自动装箱机及使用方法与流程
图片尺寸443x437
自动装箱机的制作方法
图片尺寸845x1000
药瓶自动装箱机的制作方法
图片尺寸1000x566
一种全自动装盒包装机的制作方法
图片尺寸290x443
一种小型水果自动装箱机
图片尺寸1000x866
一种罐头食品自动多层装箱机
图片尺寸514x339