自动锁扣机构

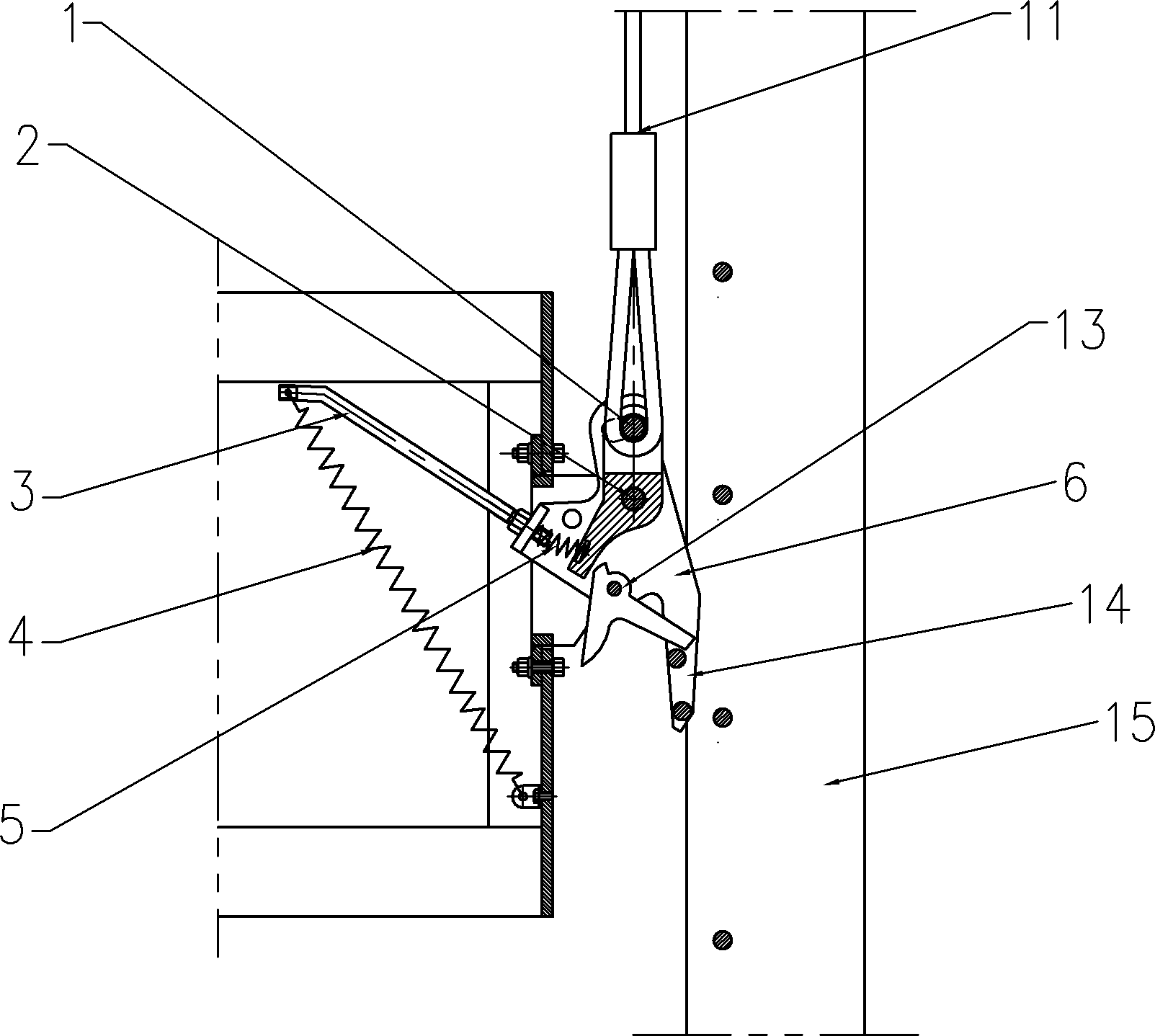
一种用于离心机开盖的自动锁扣机构
图片尺寸1885x1902
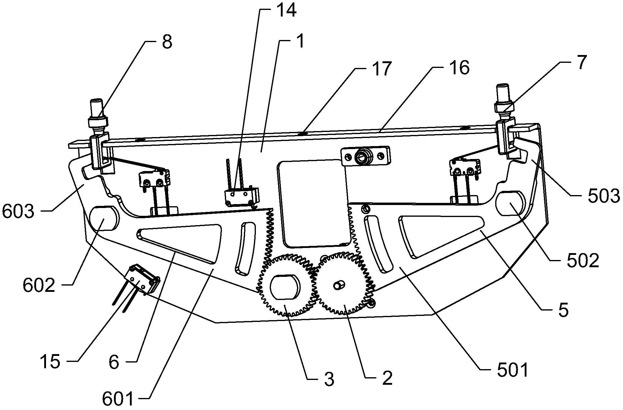
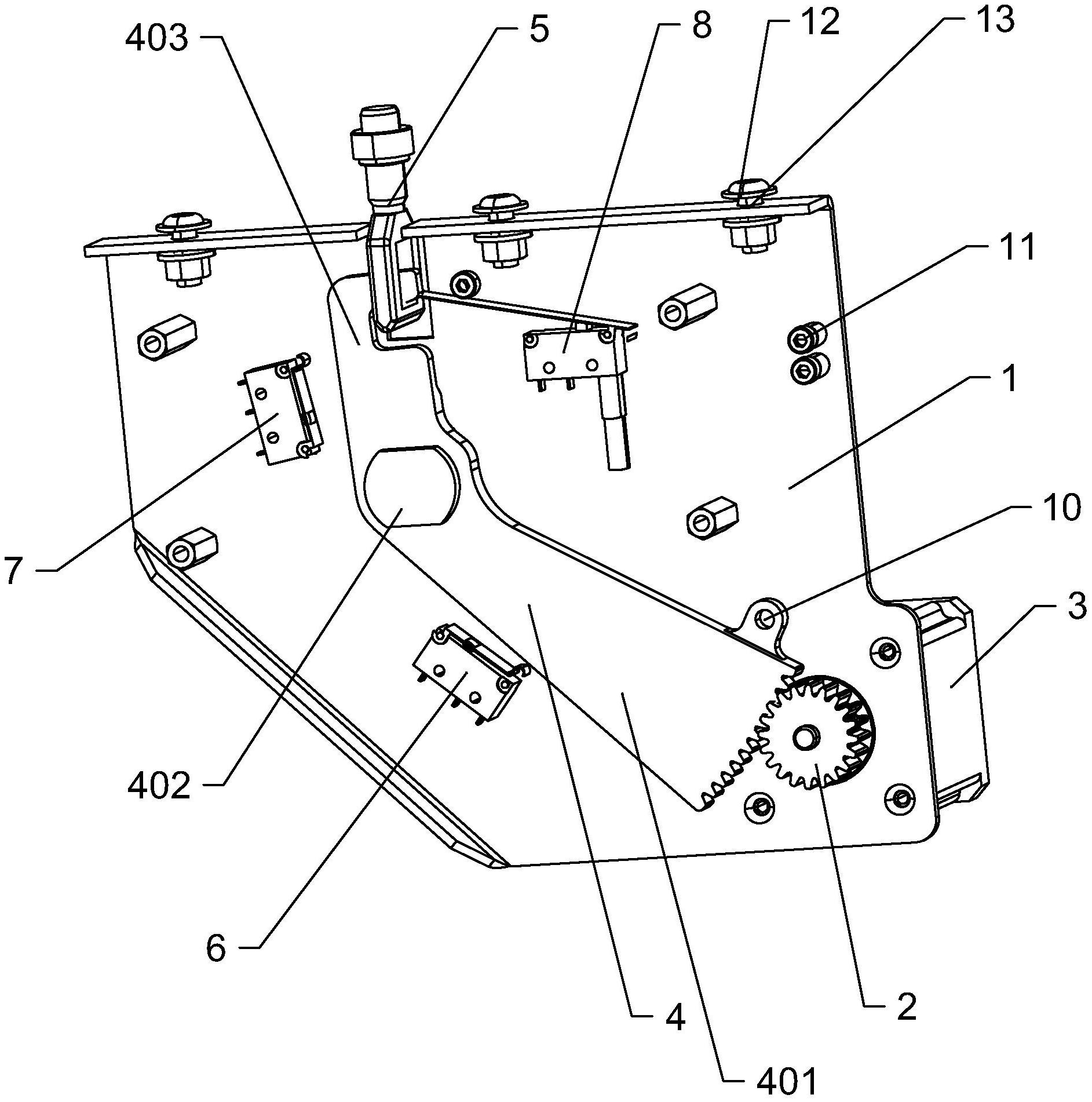
一种用于离心机开关盖的双齿轮自动锁扣机构
图片尺寸2072x1364
一种自动打开zif连接器锁扣的机构的制作方法
图片尺寸444x383
一种用于离心机开盖的自动锁扣机构的制作方法
图片尺寸992x1000
按压式弹性自锁机构,原理真的很巧妙
图片尺寸1200x1024
一种用于离心机开关盖的双齿轮自动锁扣机构的制作方法
图片尺寸1000x659
扣结构的齿轮调节器,解决了现有技术中存在的车灯灯光调节机构易失效
图片尺寸2160x1509
一种自动锁扣机构的制作方法
图片尺寸852x1000
本实用新型涉及锁扣机构技术领域,尤其涉及一种自锁紧的水下用锁扣
图片尺寸371x443
一种旋转式自锁扣的制作方法
图片尺寸416x444
一种可与agv对接并自动上锁并检测的锁扣机
图片尺寸419x443
按压式弹性自锁机构,原理真的很巧妙
图片尺寸946x424
锁扣
图片尺寸712x625
可调自锁搭扣
图片尺寸820x557
cn102619418a_自动门防坠落自动锁扣有效
图片尺寸1603x1438
一种带快速打开机构自动锁扣的制作方法
图片尺寸641x1000
自动限位锁扣机构
图片尺寸840x437
一种锁扣装置包括机架,锁扣机构,回位机构和动力机构;所述锁扣机构可
图片尺寸1060x926
点击查看大图
图片尺寸850x663
一种打包机锁扣机构的制作方法
图片尺寸1000x991