自动门防夹装置

自动平移门光幕防夹安全光线感应门电动门防夹红外感应器探头
图片尺寸649x1000
自动门影像感应器电动玻璃平移感应门人形探头人像防夹传感器
图片尺寸800x800
松下多玛cnb-235自动门启动防夹感应器
图片尺寸700x700
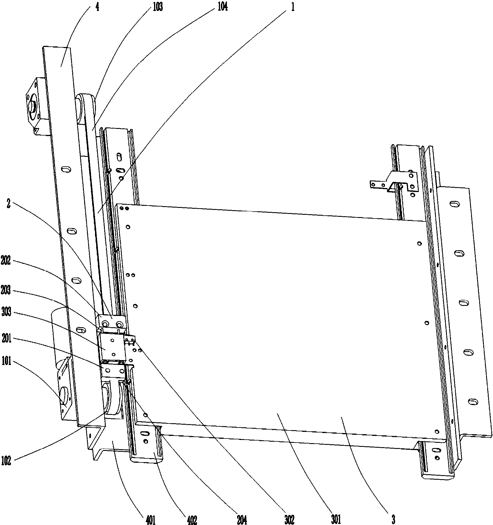
一种智能安全门防夹装置
图片尺寸1712x1821
cumu 品牌自动门移动式防夹探头感应器旋转门红外线防夹装置
图片尺寸400x400
自动门防夹装置安装,自动门控制装置_大山谷图库
图片尺寸427x322
自动门防夹装置安装,自动门控制装置_大山谷图库
图片尺寸640x442
激光光电传感器yet611ls通用旋转门自动门仓库升降门安防防夹装置
图片尺寸800x800
虎王钢质医院门防夹手幼儿园门钢质学校门厂家
图片尺寸600x800
推拉门防夹手门卡门夹儿童静音门缝止关器宝宝安全防夹手门挡神器移门
图片尺寸750x1270
b加重机组感应门电机自动推拉玻璃门平移门 方机组 感应器 短夹 防夹
图片尺寸350x350
自动门新款免打孔长门夹 感应门吊夹门夹1米玻璃不开孔夹
图片尺寸790x911
深圳订做自动门厂家感应防夹自动门自动门价格
图片尺寸1000x657
bea旋转门防夹探头自动门安全光线感应开关比业红外感应器led
图片尺寸800x800
自动门安全光栅自动门防夹探头感应器红外线多点防夹装置
图片尺寸750x1067
otd品牌安全光线自动感应门旋转门防夹红外线包邮安装维修
图片尺寸800x800
德中美纳自动门防夹红外光线电动感应门电眼双光束对射模块
图片尺寸800x800
个1米自动光栅自动门安全光栅防夹探头感应器红外线多点防夹装置
图片尺寸800x800
厂家直营防夹自动门 酒店大堂平移门 红外线自动感应门
图片尺寸884x663
254自动门启动红外防夹一体感应传感器 红外探头包邮
图片尺寸750x907