自行车把手结构

自行车非机动车装置制造技术
图片尺寸400x443
cn2533051y_一种电动自行车把手失效
图片尺寸709x592
自行车可调整式把手结构_cn201921451834.9_知雀网
图片尺寸654x1000
自行车可调整式把手结构_cn201921451834.9_知雀网
图片尺寸798x1000
自行车可调整式把手结构_cn201921451834.9_知雀网
图片尺寸653x1000
自行车可调整式把手结构_cn201921451834.9_知雀网
图片尺寸660x1000
cn2208534y_自行车刹车把手装置失效
图片尺寸1664x2544
西骑者自行车车把山地车副把牛羊角把手握把超轻扶手单车骑行配件
图片尺寸1000x1000
cn102806971a_带有具有双截面的部分的自行车手把有效
图片尺寸1000x660
自行车旋转把手结构的制作方法
图片尺寸964x1000
适用于自行车配件大全把手山地自行车21速24速连体指拨变速器铝合金
图片尺寸790x1045
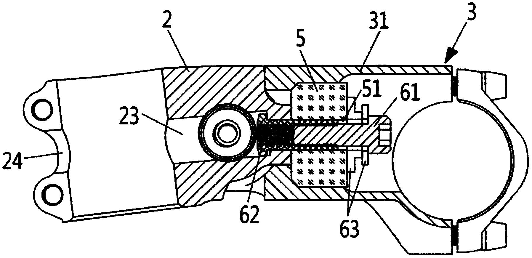
自行车把手避震结构-爱企查
图片尺寸1796x871
自行车可调整式把手结构_cn201921451834.9_知雀网
图片尺寸498x1000
一种折叠自行车用把手的制作方法
图片尺寸1000x889
折叠式自行车车把制造技术
图片尺寸1000x892
一种车把结构及自行车的制作方法
图片尺寸761x1000
自行车刹车把手的制作方法
图片尺寸563x1000
本发明涉及一种自行车把手折叠机构,其结构简单,展开锁定操作简易,且
图片尺寸1000x898
cn208665445u_一种电动自行车车把结构有效
图片尺寸1000x450
热卖铝合金定制自行车车把多色自行车把手杆自行车零件
图片尺寸960x587