舂米机结构图

全国青少年机器人技术等级考试课程二级 第六课 舂米机
图片尺寸1280x720
舂米神器水碓
图片尺寸720x628
cn210022232u_一种多用途的双风式碾米机有效
图片尺寸1000x924
一种冲压钢结构的吸风式碾米机的制作方法
图片尺寸1000x911
cn204469777u_一种年糕舂米机失效
图片尺寸1000x725
精米机的结构解析和主要技术参数
图片尺寸598x447
cn204540779u_一种年糕舂米机失效
图片尺寸1000x722
立式杂粮碾米机制造技术
图片尺寸758x1000
水动力舂米机构图纸合集的封面图
图片尺寸285x230
砻谷机
图片尺寸513x700
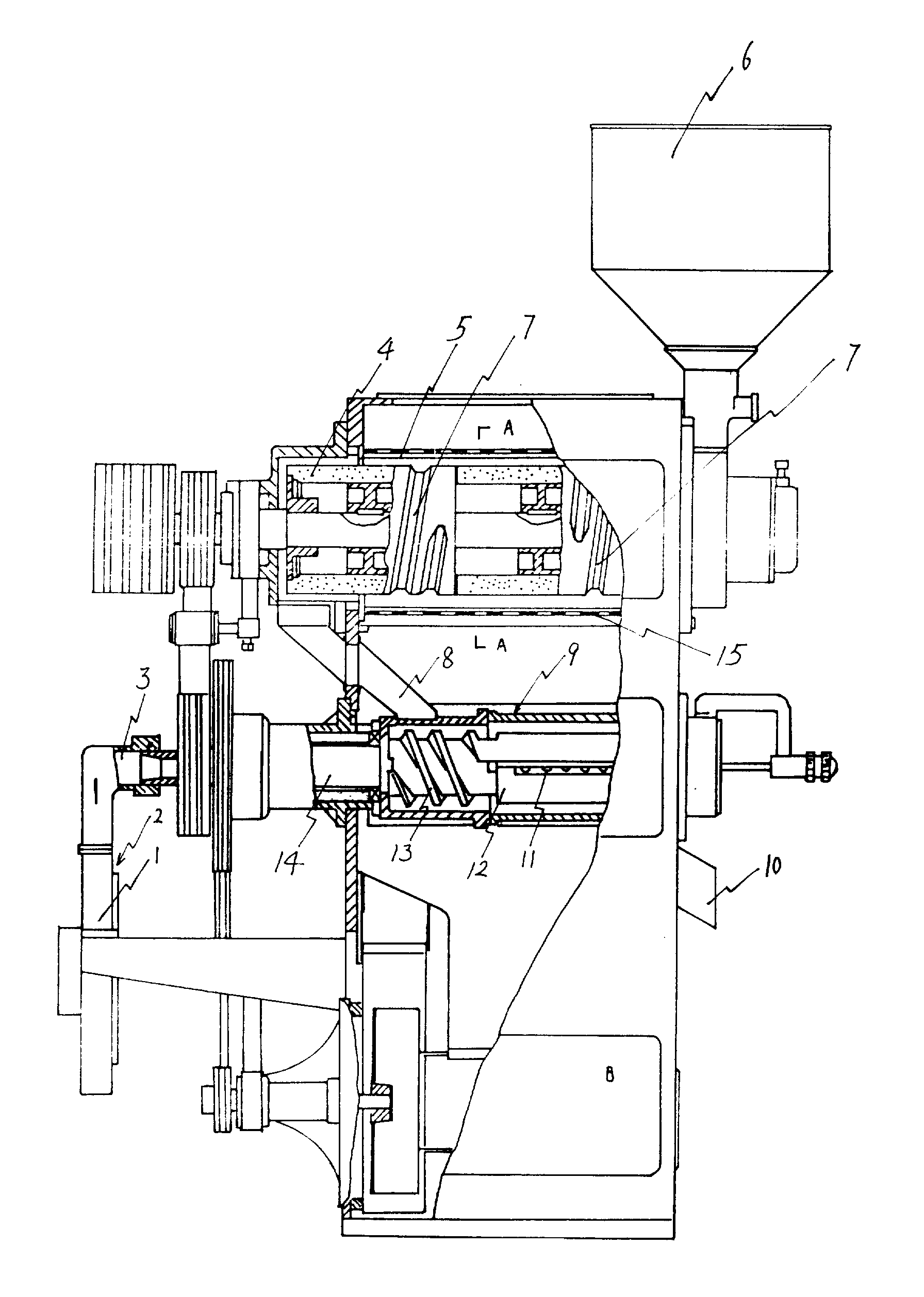
一种碾米机
图片尺寸1303x1706
初中物理沪科版八年级 第10章 机械与人 素养课件(期末复习专用)共70
图片尺寸860x484
目前也出现了许多结构不同,功能不一样的碾米机
图片尺寸763x1000
碾米机
图片尺寸910x1006
双辊碾米机
图片尺寸1792x2517
摘 要:介绍了一种胚芽米加工设备,着重介绍了设备原理,结构设计,试验
图片尺寸1339x601
一种小型农用碾米机的制造方法与工艺
图片尺寸480x583
cn201720071u_碾米粉碎组合机失效
图片尺寸1556x1760
cn87216867u_微型铁辊碾米机失效
图片尺寸1824x1631
立式碾米机
图片尺寸1000x817