舟桥结构

一种自带船外机动力的防浪四折舟桥
图片尺寸2088x486
航母设计赛:中国核动力潜航航母亮相
图片尺寸940x752
距离_桥台_上部结构
图片尺寸640x425
cn201961219u_带式舟桥铁马舟车平台限位钩装置失效
图片尺寸1525x1005
中国古桥有多震撼
图片尺寸1080x1877
六七式铁路舟桥新式活动栈桥的拼组架设技术
图片尺寸1390x1970
简单体系上承式拱桥设计与构造
图片尺寸760x548
清明上河图中的——虹桥,也称廊桥,西方称为:达芬奇拱桥
图片尺寸1728x1080
海润专业建造游艇码头钢结构水上平台浮桥 浮动平台 浮码头 引桥
图片尺寸750x1083
百度爱采购首页 商品专题_船先看古代船只的结构.
图片尺寸591x353
image
图片尺寸1080x1060
舟桥结构与计算
图片尺寸800x800
龙船结构1
图片尺寸640x483
摘要:本实用新型公开了一种舟桥锚机用自锁结构,包括传动棘轮,齿条
图片尺寸382x343
下承式城堡桥 - 行业新闻 - 德普浮桥-景观浮桥,仿古浮桥,交通舟桥
图片尺寸706x368
江阴顾山人,您家门口的桥,通啦!
图片尺寸1080x605
沥心沙大桥桥面被空载集装箱船只撞断,桥面结构怎么这么弱?
图片尺寸640x315
玩转地理一万字简述常见三大岩石类型的的结构和构造
图片尺寸660x495
附件是帆船结构
图片尺寸556x800
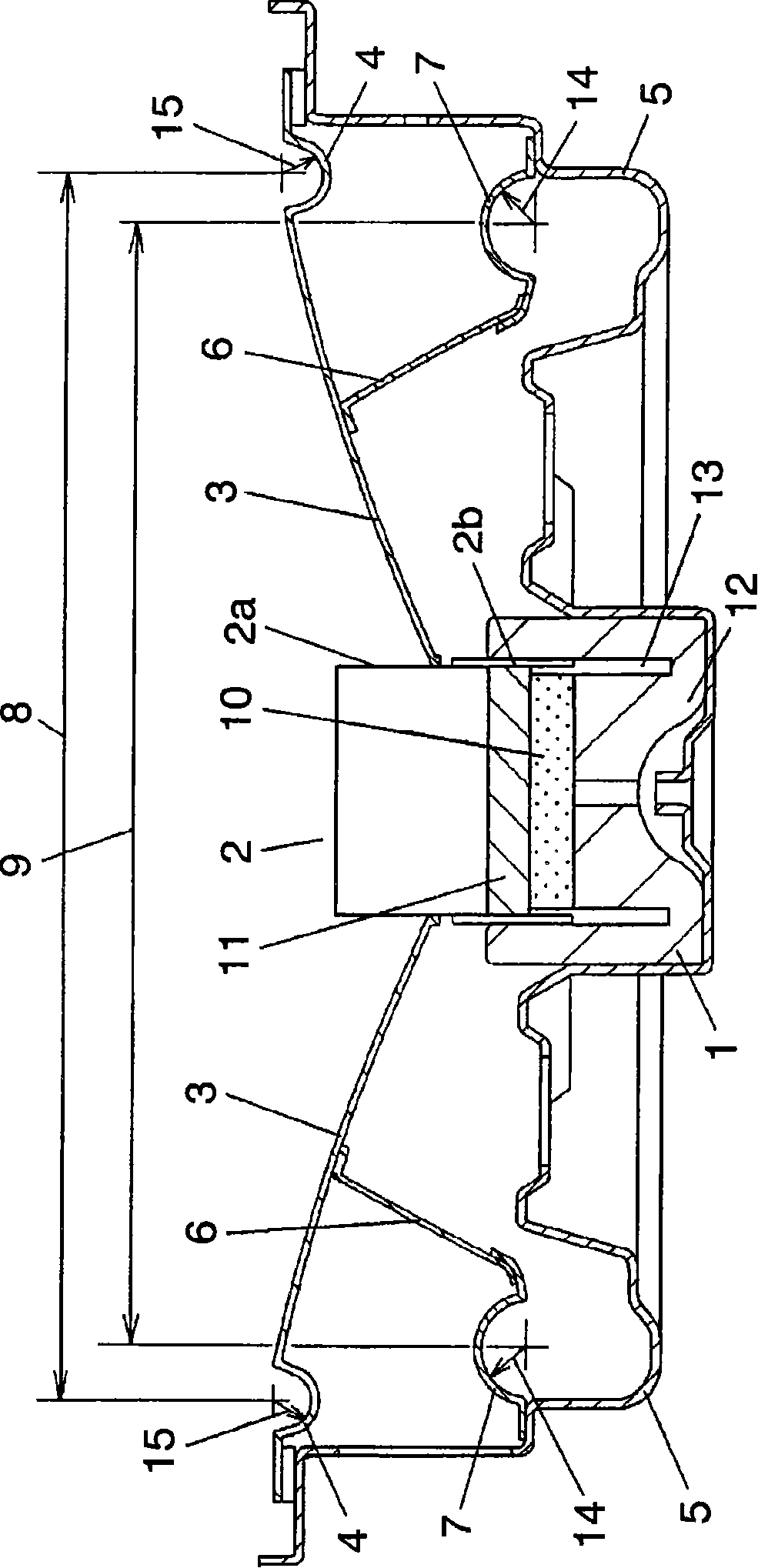
本发明扬声器具有这样的结构,其中,连接到悬挂托架(6)的第二边缘(7)的
图片尺寸985x2038