舱门结构

飞机舱门太笨重空姐每次关起来都很费劲为何不做个电动舱门
图片尺寸660x500
3d打印的c919飞机登机舱门钛合金机构零件分布图
图片尺寸539x679
一种客车用电池舱门结构-爱企查
图片尺寸1014x1602
一种行李舱门
图片尺寸1695x1938
乘坐飞机出行方便快捷,却发现舱门还需要手动关闭,这是为什么
图片尺寸640x901
外摆式乘客门结构
图片尺寸788x479
动车组塞拉门系统
图片尺寸1000x973
2.本外观设计产品的用途:用于直升机带有大小门结构的舱门.
图片尺寸318x469
本实用新型属于小型飞机舱门领域,具体涉及一种小型飞机行李舱门.
图片尺寸847x1000
用于船舶的密封舱门的制作方法
图片尺寸861x1000
包括舱门结构1及舱门锁机构2,所述舱门锁机构2包括手柄3,手柄轴4,摇臂
图片尺寸1448x1326
一种模块化自动舱门的制作方法
图片尺寸1000x714
空客飞机a32052章门r0ppt课件
图片尺寸800x600
摘要:本实用新型公开了一种客车行李舱,包括行李舱舱门结构和车身结构
图片尺寸1000x997
基于solidworks simulation的某型号飞机应急舱门优化设计
图片尺寸539x287
本实用新型涉及微压氧舱结构技术领域,具体涉及一种微压氧舱舱门.
图片尺寸414x351
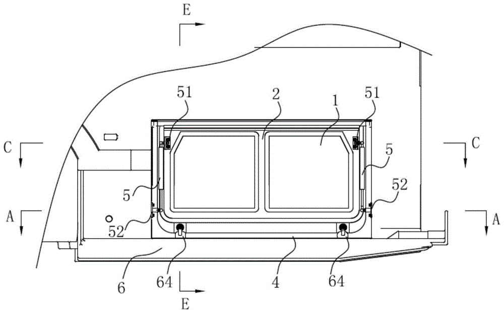
cn211969135u_一种具有高强度结构的房车舱门组件有效
图片尺寸1000x677
一种舱门装配结构
图片尺寸1000x622
cn201176881y_救生舱门失效
图片尺寸1056x933
波音737800型飞机舱门文档资料
图片尺寸920x690