舵叶和舵杆图

五一亲子单日营 | 扬帆起航金海湖桃花岛_帆船_孩子_航行
图片尺寸1080x1470
主舵杆
图片尺寸587x382
p>舵杆是指舵叶转动的轴,其用来承受和传递作用在 a target="_blank"
图片尺寸700x510
舵柱
图片尺寸703x543
>>所属分类 >> 船舶机械 按舵叶剖面形状分有平板舵(也称单板
图片尺寸800x968
航海科普中国古代船舶的舵叶
图片尺寸640x853
航海科普——中国古代船舶的舵叶 - 海事服务网cnss
图片尺寸640x406
主舵杆
图片尺寸634x538
主舵杆
图片尺寸943x611
开着开着,舵效没了
图片尺寸550x309
南通远洋配套迎来舵叶订单高峰
图片尺寸820x615
舵叶
图片尺寸294x342
船用艉轴舵杆 舵叶 尾轴舵杆 船舶配件 盛景机械
图片尺寸750x750
横舵柄
图片尺寸325x332
舵叶的支承和布置
图片尺寸310x448
航海科普——中国古代船舶的舵叶 - 海事服务网cnss
图片尺寸640x853
nfp系列轴舵系南京高精
图片尺寸550x671
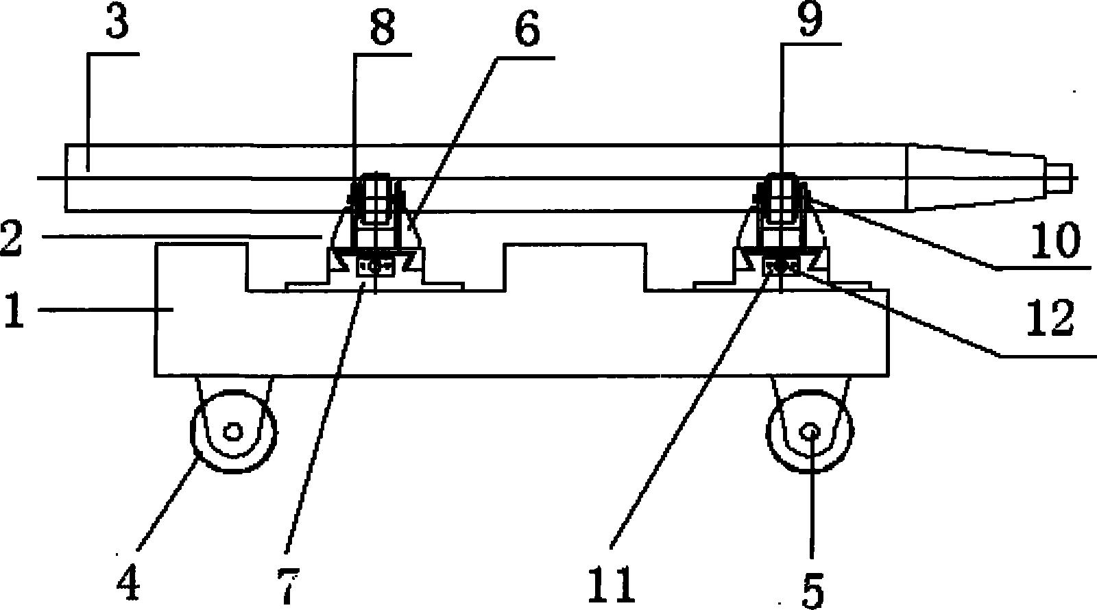
舵杆与舵叶拂配装置-爱企查
图片尺寸1600x890
船舶在波涛汹涌的海洋或滩多流急的航道中行驶,舵叶若不慎遭受极端
图片尺寸443x443
舵的一般名称
图片尺寸658x392