舵机分解图

舵机解剖图
图片尺寸640x366
舵机是由什么组成_舵机的结构及原理
图片尺寸718x490
船海百科图解几种常用的舵机
图片尺寸1070x637
舵机实际结构图
图片尺寸640x366
舵机结构解析图
图片尺寸600x351
1 舵机的基础知识
图片尺寸648x646
舵机的认识和选购
图片尺寸888x1184
的组成 舵设备为应用最广泛的操纵设备,由操纵装置,传动机构, 舵机,转
图片尺寸1080x810
舵机|激光笔|其它小模块|usb驱动板
图片尺寸1262x710
智能舵机 ms-12a
图片尺寸739x468
第二讲:舵机原理
图片尺寸1080x810
6kg300离和舵机
图片尺寸981x933
伺服电机如何工作以及如何使用arduino控制舵机howtomechatronics
图片尺寸1152x720
什么转舵的成语有哪些 随风转舵什么意思?
图片尺寸500x543
1.舵机基本构造使用的舵机为2个ds3115mg数字舵机 4个mg996r模拟舵机.
图片尺寸840x464
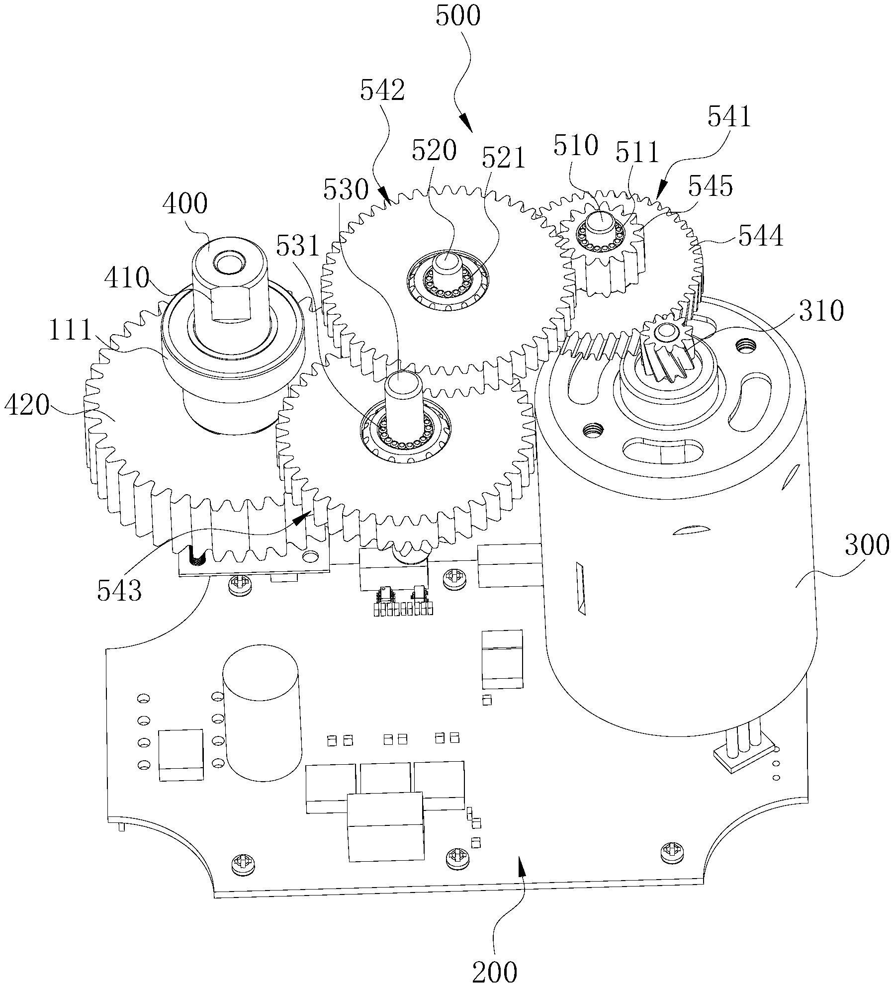
舵机
图片尺寸1798x1985
arduino与sg90舵机握手
图片尺寸886x716
船舶设备液压故障诊断与维修舵机瘫痪事件
图片尺寸337x364
舵机的认识和选购
图片尺寸949x920
绘出舵机系统图,说明舵机工作原理及日常管理要点
图片尺寸1199x1146