舵系结构图

"欹帆侧柁入波涛,撤漩捎濆无险阻":浅析船舵小史
图片尺寸579x557
29000吨化学品_成品油轮舵系设计
图片尺寸626x666
船舵结构.jpg
图片尺寸490x375
舵机结构解析图
图片尺寸600x351
帆船航行时经常是这样倾斜着航行的,帆船中的重要结构——龙骨,不仅
图片尺寸1080x1470
舵机实际结构图
图片尺寸640x366
第九章舵机_船舶辅机
图片尺寸920x690
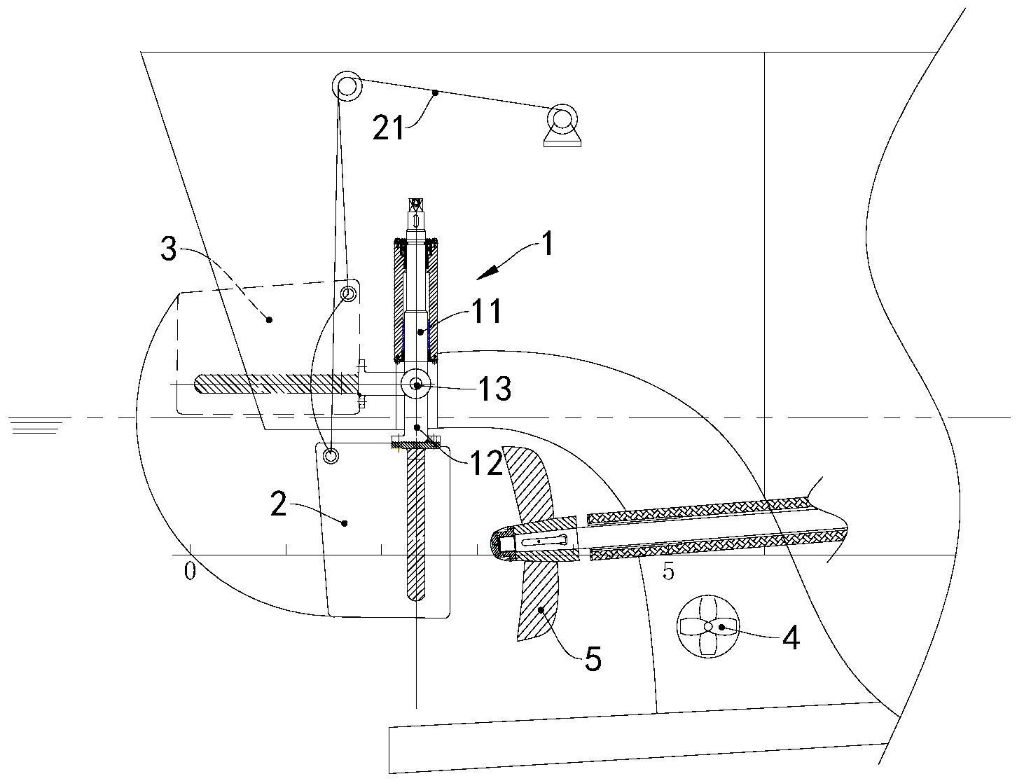
可绕双轴转动的舵系及船
图片尺寸1452x1115
舵的一般名称
图片尺寸658x392
2-2-2舵的类型和结构
图片尺寸1080x810
第四章船体舾装检验 舵系制造和安装检验 船舶舵系结构型式 一,按支承
图片尺寸1080x810
舵系修理
图片尺寸416x235
舵机是由什么组成_舵机的结构及原理
图片尺寸718x490
舵机转舵机构
图片尺寸920x690
智能舵机ms-12a
图片尺寸739x468
一种江海联运船新型舵系
图片尺寸569x525
舵机转舵机构和遥控系统.ppt
图片尺寸800x600
舵机基本构造使用的舵机为2个ds3115mg数字舵机 4个mg996r模拟舵机.
图片尺寸840x464
9船舶舵机控制系统ppt
图片尺寸1080x810
穿心平衡舵.jpg
图片尺寸743x813