船用透气帽结构

一种船用鹅颈式透气帽的制作方法
图片尺寸444x417
b型船用菌型通风帽通风筒
图片尺寸641x344
一种液化气船用防火透气帽制造技术
图片尺寸381x518
船用透气帽-爱企查
图片尺寸537x801
阻火透气帽(zhq-tqm型)-上海高航石化设备制造有限公司
图片尺寸400x439
的船用菌型通风筒结构,具体涉及菌形通风筒技术领域,包括风筒,风帽
图片尺寸800x748
船用透气帽的制作方法
图片尺寸673x1000
船用浮球式空气管头,浮球式油水舱透气帽fs-type cb/t3594-94
图片尺寸780x846
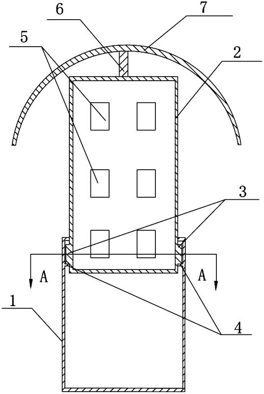
一种船舶压载舱用压力真空透气头的制作方法
图片尺寸435x656
一种双向风雨密型透气帽的制作方法
图片尺寸356x443
尾尖舱浮子式透气帽,船用浮子式空气管头fkm-150a cb/t3594-94
图片尺寸1587x1976
铸铁鹅颈式透气帽b50ht cb/t3594-94
图片尺寸1163x683
阻火透气帽结构图
图片尺寸642x325
阻火透气帽结构图
图片尺寸300x290
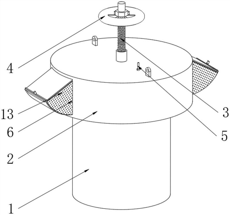
船用菌型通风帽
图片尺寸776x746
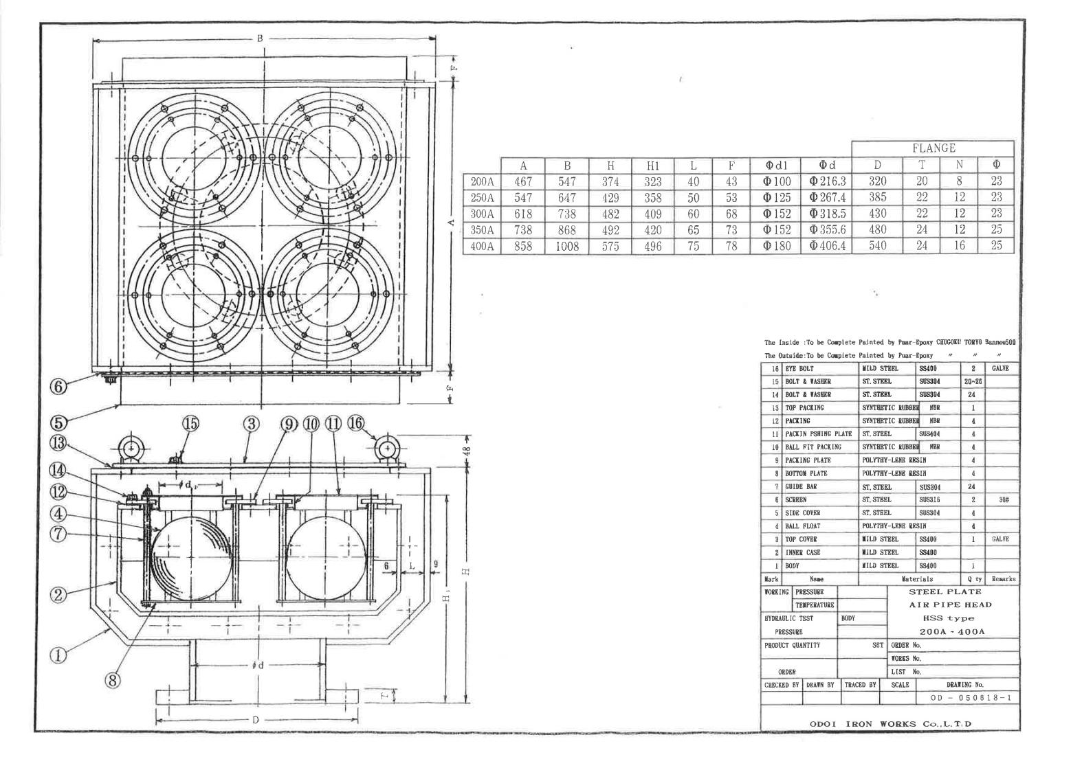
steel plate air pipe head 5k-200a hss-type船用钢板焊接透气帽
图片尺寸1558x1102
飞航jisf3012a122船用日标空气管头5k10船用日标透气帽
图片尺寸700x989
谁说压载舱透气帽一定要有橡皮圈?
图片尺寸553x346
谁说压载舱透气帽一定要有橡皮圈?
图片尺寸587x367
关于此款 ds200ht cb/t3594-94 船用不锈钢油舱空气管头 -油舱透气帽
图片尺寸850x692