船舵结构图

"欹帆侧柁入波涛,撤漩捎濆无险阻":浅析船舵小史
图片尺寸579x557
船舵结构.jpg
图片尺寸490x375
一种多功能船用舵制造技术
图片尺寸614x631
29000吨化学品_成品油轮舵系设计
图片尺寸626x666
9船舶舵机控制系统ppt
图片尺寸1080x810
帆船航行时经常是这样倾斜着航行的,帆船中的重要结构——龙骨,不仅
图片尺寸1080x1470
一种船用转子舵
图片尺寸1631x1560
主舵杆
图片尺寸587x382
主舵杆
图片尺寸943x611
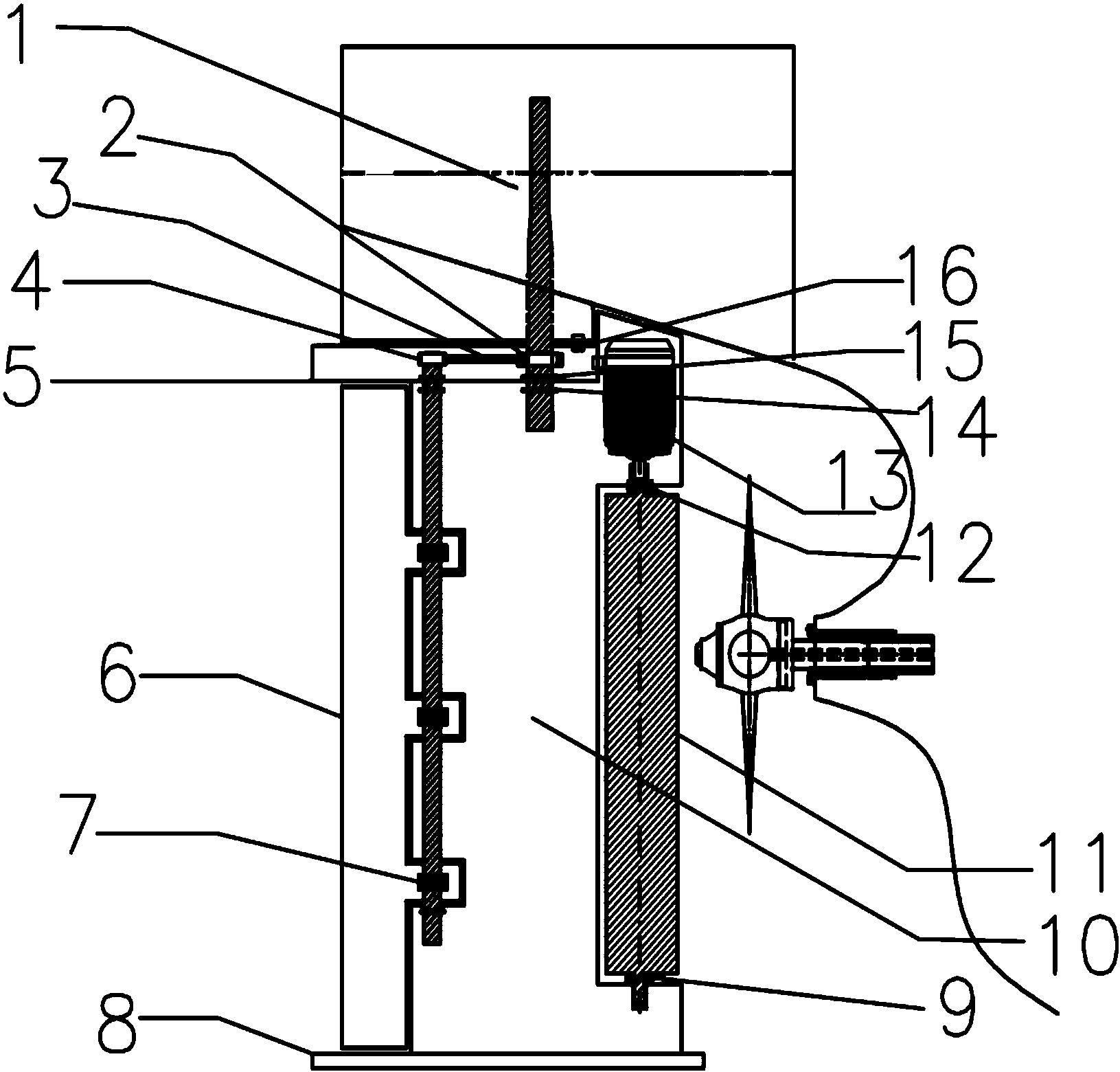
cn109070986a_船舶用舵及船舶
图片尺寸1657x1922
易拆装组合式船舵
图片尺寸947x1000
南京宝船遗址出土船舵,专家也研究不明白,制作船舵的神秘材料
图片尺寸584x426
船舶设备制造技术
图片尺寸682x1000
商标logo
图片尺寸1085x661
cn204846345u_可变式易拆装船舵失效
图片尺寸675x1000
可绕双轴转动的舵系及船
图片尺寸1452x1115
主舵杆
图片尺寸868x361
坞修工程.doc
图片尺寸658x392
求叫船体名称
图片尺寸743x813
舵叶在船的哪个位置?解析船舵的转向原理
图片尺寸974x618