船舶电路图

新型混合电源供电的船舶电力系统
图片尺寸1000x946
第4章船舶主机遥控系统ppt
图片尺寸1080x810
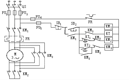
船用电气图
图片尺寸729x543
谁能帮忙画画或找找 恒泰2879f遥控船的电路图吗?我的船坏了.急着修.
图片尺寸716x657
船舶主机遥控电气系统图
图片尺寸480x632
船舶主机遥控电气设计系统图
图片尺寸1020x1440
船舶两台变压器半自动切换电路
图片尺寸1916x1010
船舶信号检测报警系统的不间断供电控制装置及实现方法
图片尺寸940x1000
船舶航行信号灯电路
图片尺寸1042x659
船舶信号灯和船舶闪光灯控制电路制造技术
图片尺寸1984x1952
常用控制电路船舶电路基础
图片尺寸1592x773
直流组网的船舶混合动力推进系统的控制方法与流程
图片尺寸1000x933
本电气图为船舶上使用,是船上舵机舱舵机报警图,希望能给网友带来一定
图片尺寸560x403
自考01233船舶电气模拟试题2
图片尺寸444x276
常用控制电路船舶电路基础
图片尺寸1500x824
造船用门式起重机电气图.pdf
图片尺寸1357x959
遥控船-单片机制作电路图-电子产品世界
图片尺寸1229x608
船舶电气设备及系统ppt课件
图片尺寸920x690
船舶电力系统的类型
图片尺寸561x332
一种用于船舶岸电系统的整流电路技术方案
图片尺寸935x1000