色谱柱装置图手画

柱色谱是较经典的有机物分离技术
图片尺寸645x737
cn101489636b_色谱柱,系统和方法有效
图片尺寸1522x2286
cn209204735u_一种制备色谱柱有效
图片尺寸715x1000
图3-16 柱色谱装置2.
图片尺寸285x661
三,基本操作:(含仪器装置和主要流程图) 1,柱色谱操作步骤:化合物的
图片尺寸706x457
cn101329312a_一种色谱柱失效
图片尺寸2117x1432
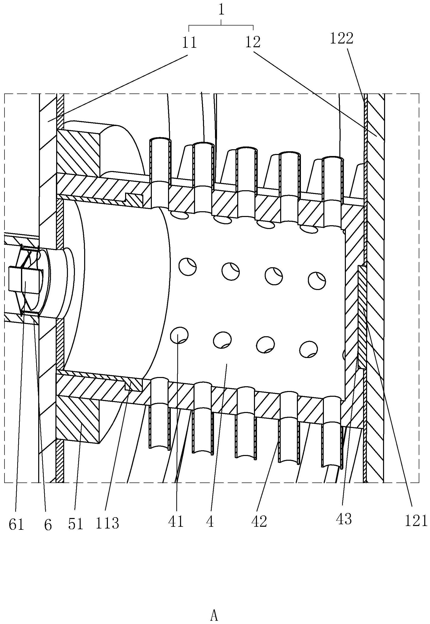
一种毛细管色谱柱制备装置的制作方法
图片尺寸295x436
一种用于小麦中提取真菌毒素提取液的色谱柱装置的制作方法
图片尺寸427x444
一种色谱柱减压装置制造方法及图纸
图片尺寸622x857
cn101068609a_色谱柱有效
图片尺寸1507x1286
色谱柱是如何填装的?
图片尺寸311x546
柱色谱
图片尺寸193x344
柱色谱(是什么,原理,图谱,流动相和固定相的功能)
图片尺寸623x345
cn210294186u_一种气相色谱仪的色谱柱装置有效
图片尺寸645x1000
一种气相色谱仪的色谱柱装置的制作方法
图片尺寸647x1000
一种凝胶色谱柱装柱装置-爱企查
图片尺寸452x799
一种用于气相色谱仪的色谱柱加热装置
图片尺寸1722x2496
cn104865328b_一种多通道匀浆装填毛细管色谱柱的装置有效
图片尺寸1000x836
一种多柱串联的色谱柱装填装置的制作方法
图片尺寸438x444
一种色谱柱减压装置的制作方法
图片尺寸619x862