节水装置设计图

3,给塑料瓶装适量水,拧紧瓶盖,一个自动浇水装置就算完成了
图片尺寸903x595
感应式双冲节水冲水箱
图片尺寸1541x2153
公厕水箱节水器具
图片尺寸1984x2554
节水小卫士:孩子们的创意节水行动
图片尺寸1485x1050
家庭节水装置
图片尺寸2432x1696
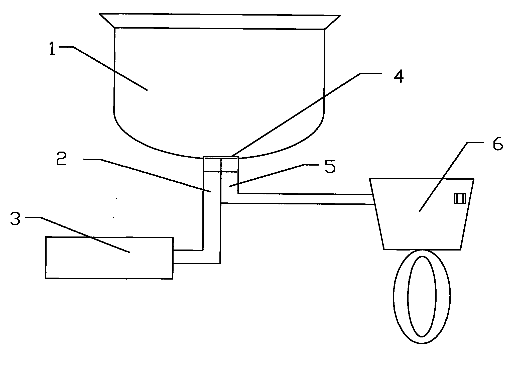
一种基于循环系统的节水出水装置
图片尺寸1377x1958
"可控排水三通"家庭节水装置系统
图片尺寸600x497
一种简易家用节水装置失效
图片尺寸2072x1457
一种卫生间智能节水装置
图片尺寸1641x1142
一种新型节水装置
图片尺寸1674x1239
一种洗手台节水装置
图片尺寸1250x1310
今天我想和大家分享一个我近期的小发明
图片尺寸1920x1329
金都天长小学云端科技节:设计多样新型滤水装置,探索科技改变生活的
图片尺寸1571x1111
节水淋浴系统及用于其中的热致变色装置
图片尺寸1740x2227
ly03b型一点通指触淋浴节水器安装指导
图片尺寸2268x1701
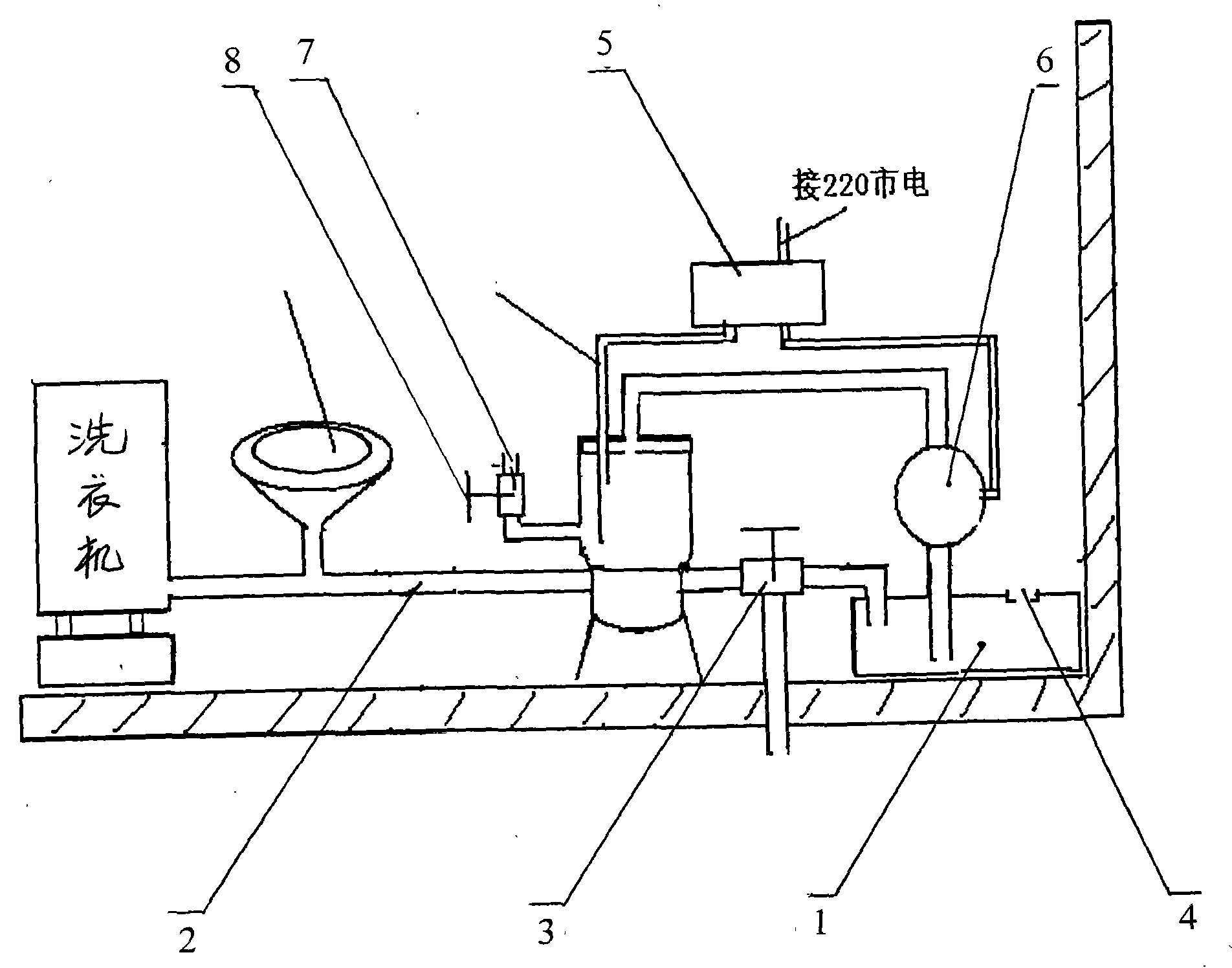
本发明涉及家庭自动节水系统,共分为自动储水,自动供水,备用装置三个
图片尺寸1904x1496
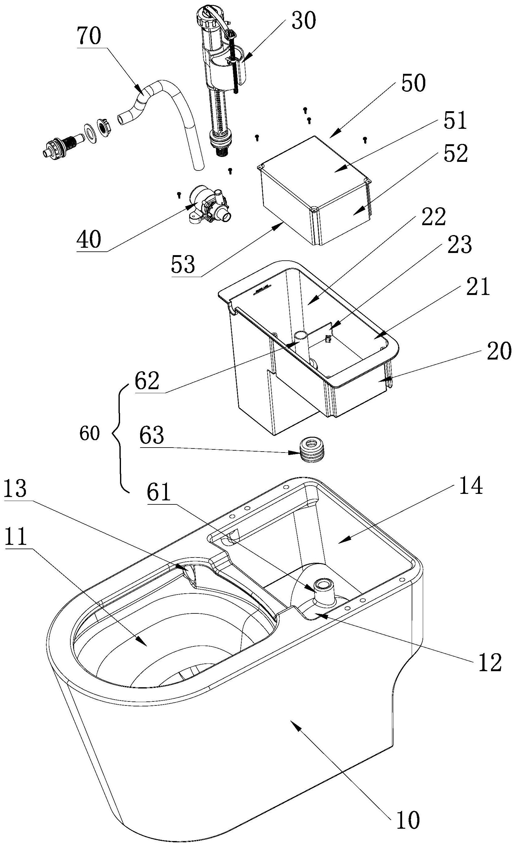
一种节水型马桶装置
图片尺寸1672x2739
在野自然,亲子活动
图片尺寸1080x2067
一种家用节水装置
图片尺寸2165x1709
末端试水装置由试水阀,压力表以及试水接头组成
图片尺寸884x1077