芬顿氧化塔图纸

高效防堵脉冲式芬顿氧化塔的制作方法
图片尺寸885x1000
一种螺旋式芬顿氧化塔的制作方法
图片尺寸825x836
φ3000芬顿氧化塔cad图纸
图片尺寸718x495
一种用于处理污水的分级混装臭氧催化氧化反应塔
图片尺寸720x1000
芬顿氧化塔及铁碳填料塔的设计图
图片尺寸1207x507
高级氧化反应塔 - 污水处理设备图纸 - 沐风网
图片尺寸516x720
一种增强内部循环的芬顿氧化塔的制作方法
图片尺寸782x1000
一种用于处理污水的分级混装臭氧催化氧化反应塔的制作方法
图片尺寸721x1000
高级催化氧化fenton芬顿反应器设备工艺图纸
图片尺寸643x482
一种用于废水处理的臭氧催化氧化塔
图片尺寸1860x2043
铁碳填料塔及芬顿氧化塔的设计图纸
图片尺寸610x435
臭氧氧化塔工艺cad图纸给排水dwg图
图片尺寸963x681
芬顿氧化法废水生化处理工艺技术浅析
图片尺寸544x448
cn101538078a_微多相电芬顿氧化还原反应器失效
图片尺寸1652x2005
谭福环保 化纤废水 芬顿反应器 运行稳定
图片尺寸1466x1090
dn2500臭氧氧化塔总图 - autocad化工环保设备图纸下载 - 沐风图纸
图片尺寸618x837
cn107381905a_一种臭氧紫外一体化催化氧化塔在审
图片尺寸736x1000
cn204727698u_一种改良型芬顿氧化系统有效
图片尺寸916x528
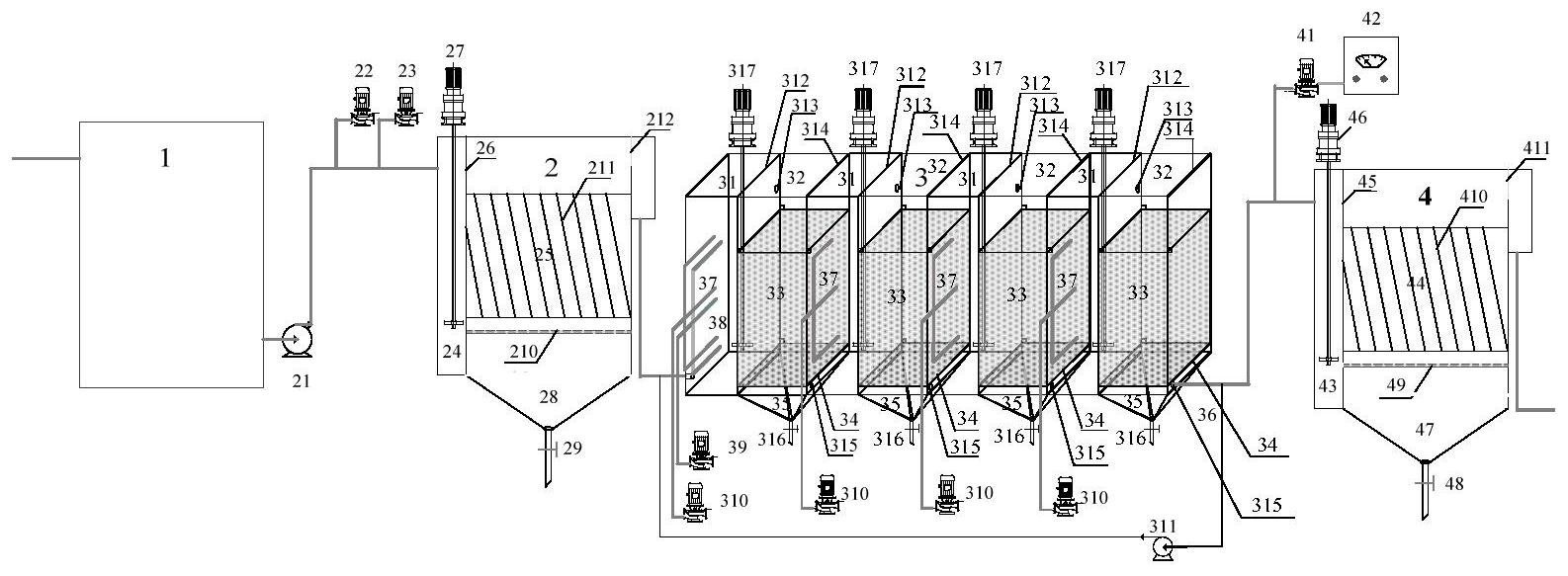
一种无酸化芬顿氧化处理污泥厌氧消化液的系统
图片尺寸1586x583
一种芬顿反应装置的制作方法
图片尺寸443x320