花瓶结构

4古香古色的花瓶课件美术二年级上册共17张ppt
图片尺寸860x645
第8课别致的小花瓶课件美术三年级下册人美版共17张ppt
图片尺寸860x645
师大二附小 二年级 美术指导 趣味临摹一花瓶①
图片尺寸1212x1011
8别致的小花瓶课件24张幻灯片
图片尺寸720x540
结构素描广口花瓶的结构分解
图片尺寸600x562
美术桂美版二年级上4古香古色的花瓶课件21张ppt
图片尺寸860x645
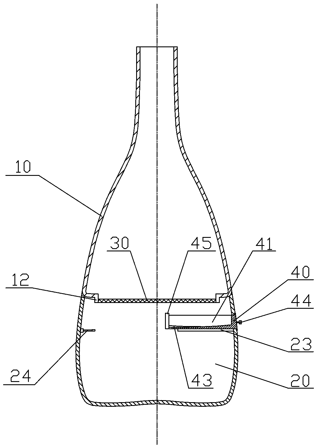
一种多功能的陶瓷花瓶,包括瓶身和底座,底座为上端开口的碗状结构,瓶
图片尺寸1099x1554
ins韩系素陶花瓶结构白色花盆手工陶瓷摆件客厅插花北欧干花插花
图片尺寸800x800
玻璃花瓶结构素描
图片尺寸1000x1376
看看小陈老师花瓶结构素描教学,轻松自学素描
图片尺寸864x486
零基础-如何画静物花瓶? 结构素描-静物单体示范.
图片尺寸960x1280
少儿静物素描教程之五花瓶的画法
图片尺寸1380x1840
一种陶瓷插花瓶的制作方法
图片尺寸355x455
结构素描广口花瓶的结构分解
图片尺寸600x569
花瓶
图片尺寸2000x2667
《花瓶结构基础素描》
图片尺寸2000x2841
实物照片 步骤一:用线条准确地画出花瓶的形体结构,注意口部细节特点.
图片尺寸566x570
步骤一:用线条准确地画出花瓶的形体结构,注意口部细节特点.实物照片
图片尺寸566x669
一种多功能花瓶陶瓷工艺品
图片尺寸632x1000
《花瓶结构基础素描》
图片尺寸2000x2798