茶叶包装简笔画

黑白手绘线条茶叶泡袋
图片尺寸1024x1542
茶包轮廓图标
图片尺寸1100x1100
卡通手绘茶
图片尺寸610x610
茶包装
图片尺寸2480x3508
免抠元素 简约线条 黑白手绘线条茶叶泡袋版权可商用有保障
图片尺寸650x651
卡通手绘茶叶茶包
图片尺寸610x610
儿童画茶叶罐步骤一起来学茶叶罐简笔画
图片尺寸457x300
茶包简笔画,茶包图片
图片尺寸992x544
2.本外观设计产品的用途:本外观设计产品用于包装茶叶.
图片尺寸265x298
茶叶袋图标
图片尺寸1100x1100
茶叶包装插画未上色版
图片尺寸1080x1439
茶包黑色象形文字
图片尺寸1200x988
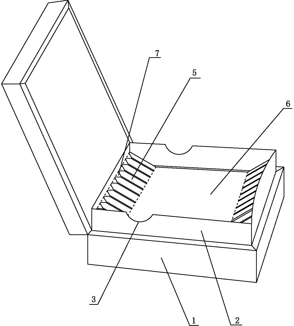
茶叶包装盒-爱企查
图片尺寸1248x1384
孤立的茶袋图标设计插画-正版商用图片0ew0t4-摄图新视界
图片尺寸700x861
茶包茶时间茶叶图标
图片尺寸512x512
绘画插图,茶包,矢量,雕刻术,线条画
图片尺寸848x1200
茶包,象征,素描,矢量,插画
图片尺寸487x1024
手绘简约茶包
图片尺寸610x329
卡通茶叶包装袋简笔画
图片尺寸500x704
"泼茶香"普洱茶包装设计
图片尺寸800x709