菜刀的结构图

了解刀的基本构造选择合适的刀具
图片尺寸526x573
高仓健与刃藏:不散的形制下,有美的存在
图片尺寸1078x1268
菜刀参数示意图
图片尺寸800x800
你知道刀的各部位构造名称吗|刀的构造 刀的类型比
图片尺寸1812x1280
张小泉菜刀刀把构造.#手艺人 #好物推荐97 #质量杠杠的好 - 抖音
图片尺寸1080x1440
背景技术::一直以来,使用由以金属材料为主成分的材料形成的菜刀.
图片尺寸1000x775
刀的这些部位你都认识吗
图片尺寸564x752
后刀面
图片尺寸861x581
敏仔刀户西线刀框架刀三件套木工铣刀修边机雕刻机刀头高档开槽刀
图片尺寸800x800
刀具切削部分的基本定义2007(精)
图片尺寸500x540
最冷的现代化兵器m9多功能刺刀
图片尺寸400x265
内割刀
图片尺寸617x688
如何区分刀具中的受力方向
图片尺寸800x690
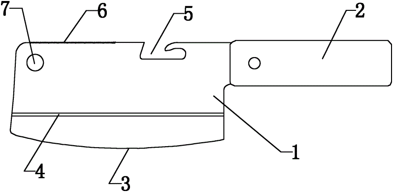
一种菜刀
图片尺寸1000x638
剑刀的简易制作
图片尺寸700x1061
cn202219509u_一种多功能菜刀失效
图片尺寸800x392
一种菜刀的制作方法
图片尺寸1000x752
日本刀的结构,每个部分的名称(最好有图)
图片尺寸500x671
cn2320382y_全夹钢多功能菜刀失效
图片尺寸940x510
只有掌握了各种手术器械的结构特点和基本性能,才能正确,灵活地使用
图片尺寸501x351