落地灯结构

麒枫尚官方落地灯钓鱼客厅卧室麻将书房网红遥控北欧极简轻奢ins风
图片尺寸800x1158
欧普照明落地灯客厅北欧卧室书房美式简约现代立式阅读落地台灯ld
图片尺寸790x1310
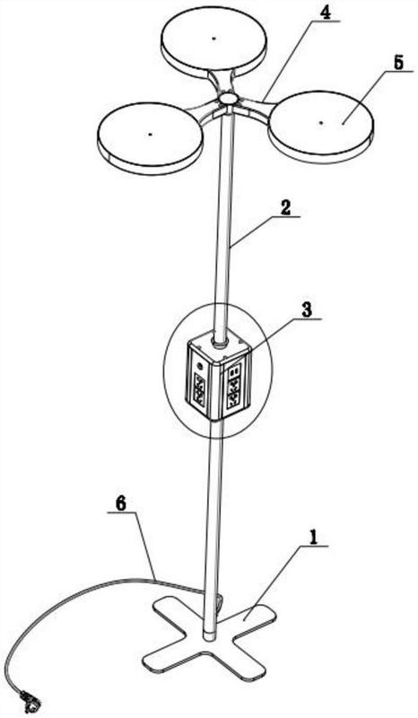
在底座的上端,所述灯泡固定在立柱的上端,此带置物架的落地灯结构简单
图片尺寸679x1355
普里姿北欧创意落地灯客厅卧室床头轻奢ins少女立式台灯书房麻将钓鱼
图片尺寸790x913
一种带充电盒的落地灯-爱企查
图片尺寸466x800
一种拼接式落地灯-爱企查
图片尺寸744x800
连接有立杆,立杆上固定安装有横梁,横梁的底部固定安装有落地灯结构
图片尺寸640x800
一种便于组装方便实用的落地灯结构-爱企查
图片尺寸952x1363
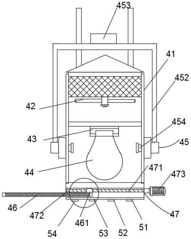
湿度的智能落地灯,涉及家具技术领域,包括装置底座,活动支架,固定结构
图片尺寸1397x1764
埋地灯结构及安装示意图
图片尺寸720x1069
以满足房间局部照明和点缀装饰家庭环境的需求,现有落地灯的灯罩结构
图片尺寸895x1000
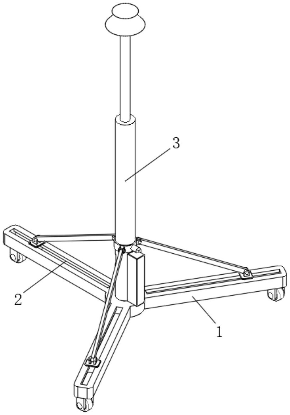
一种落地灯的支撑结构-爱企查
图片尺寸1152x1504
一种客厅装饰led落地灯
图片尺寸659x1000
一种落地灯的制作方法
图片尺寸659x737
【给利伴】免费领天猫网简约创意美式折叠落地灯客厅卧室床头书房学习
图片尺寸750x470
一种新型抽拉式落地灯的制作方法
图片尺寸647x1000
一种新型落地灯
图片尺寸901x1591
落地灯,包括底座,设置在底座上的滑轨,通过滑动结构设置在滑轨中的底
图片尺寸790x1142
一种led落地灯
图片尺寸357x444
一种可智能控制的led落地灯的制作方法
图片尺寸1000x953