蒸发器装配图

蒸发器装配图cad图纸rar
图片尺寸2338x1653
生物质颗粒蒸发器图纸,提供技术支持.安装指导,1991985 - 抖音
图片尺寸1920x1356
一种刮板薄膜蒸发器
图片尺寸1554x2311
本公司的三效蒸发器图纸
图片尺寸4678x6623
蒸发器
图片尺寸569x745
三效蒸发器布局 直观展示,老大哥熬夜搞出来的949494 - 抖音
图片尺寸524x690
60二效蒸发器装配图
图片尺寸365x509
外加热强制循环蒸发器装配图dwg图纸
图片尺寸669x492
一种中央循环管式蒸发器的制作方法
图片尺寸874x1000
三效蒸发器装配图
图片尺寸351x680
蒸发器吸收器装配图cad图纸
图片尺寸785x612
薄膜蒸发器和短程蒸发器的区别_化工仪器网
图片尺寸3805x2263
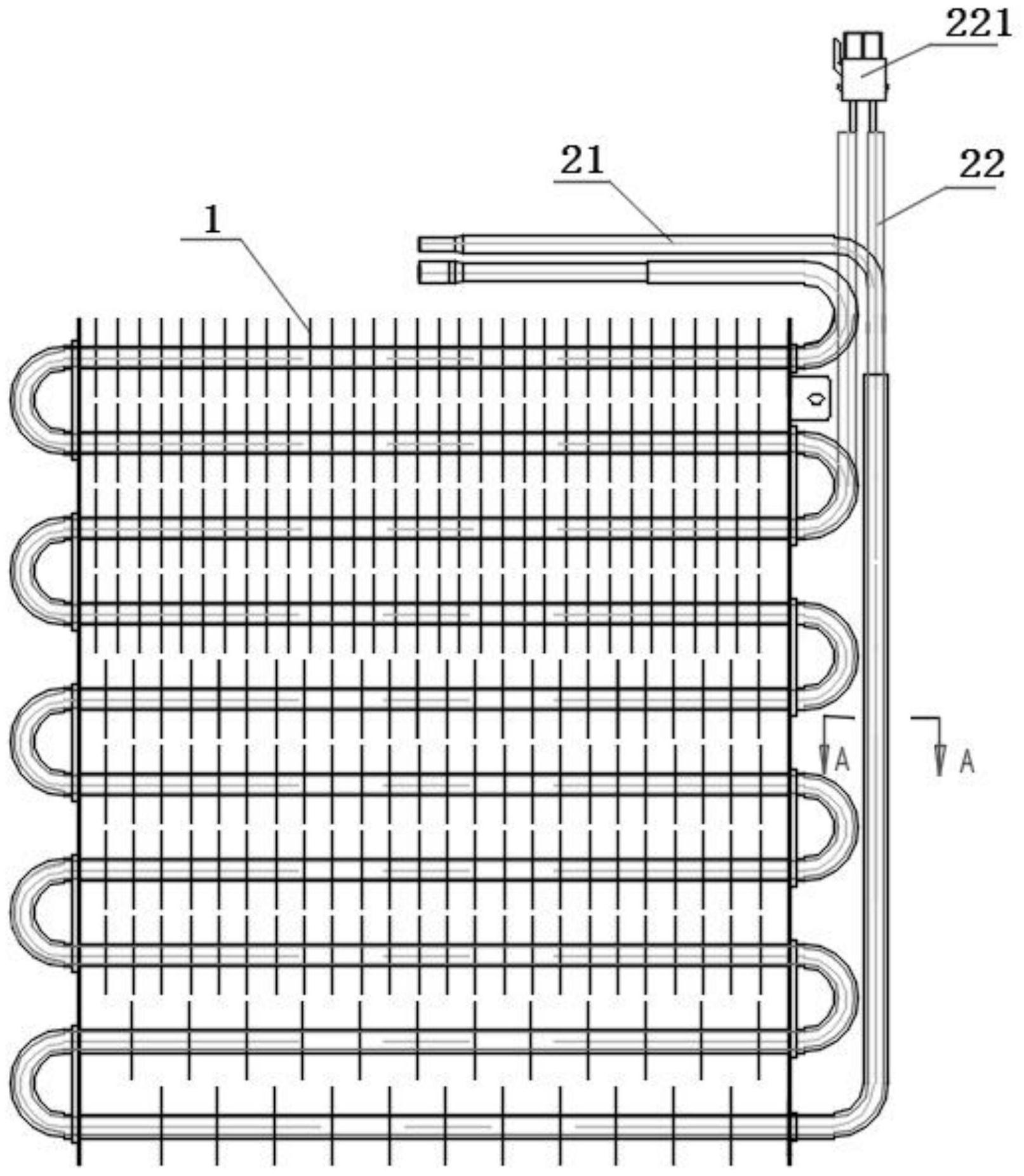
cn213542897u_一种交织型双回路翅片式蒸发器有效
图片尺寸2193x2144
中央循环管式蒸发器
图片尺寸388x527
cn212187835u_一种半容积式蒸发器有效
图片尺寸1676x2311
蒸发器装配设计图纸
图片尺寸829x565
满液式蒸发器装配图cad图纸
图片尺寸820x579
161平方蒸发器cad装配图
图片尺寸359x497
一种刮膜蒸发器装置-爱企查
图片尺寸993x1455
cn110332735a_一种翅片蒸发器组件在审
图片尺寸1613x1852