蒸发浓缩装置图

一种化工浓缩用蒸发装置-爱企查
图片尺寸516x800
(2012·北京理综,8)下列试验中,所选装置不合理的是
图片尺寸579x242
一种中药提取液的蒸发浓缩装置的制作方法
图片尺寸443x407
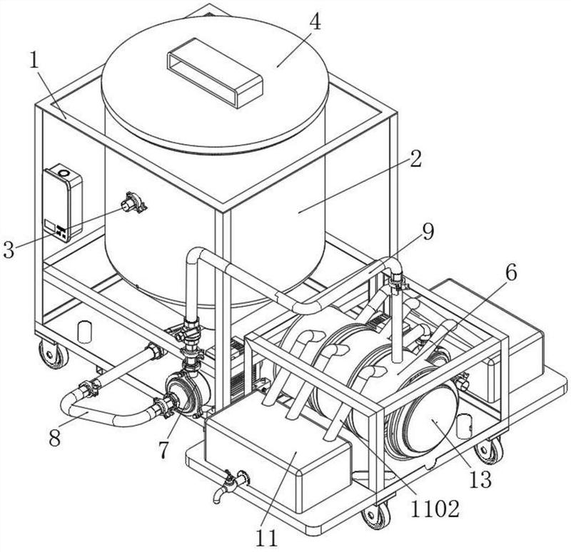
一种化工浓缩用蒸发装置的制作方法
图片尺寸903x1000
2,蒸发
图片尺寸858x367
检测模拟高放废液蒸发浓缩过程中核素挥发比的方法
图片尺寸1000x508
本实用新型提供一种鱼溶浆蒸汽真空浓缩装置,包括蒸发器,高位冷凝器
图片尺寸2087x1984
溶媒回收有机溶剂蒸发器
图片尺寸800x813
摘要附图摘要一种低能耗尿素蒸发装置,其包括有真空预浓缩器,一段蒸发
图片尺寸2369x1424
1. 如图是某同学搭配的蒸发装置.
图片尺寸212x121
三效蒸发器浓缩器
图片尺寸931x552
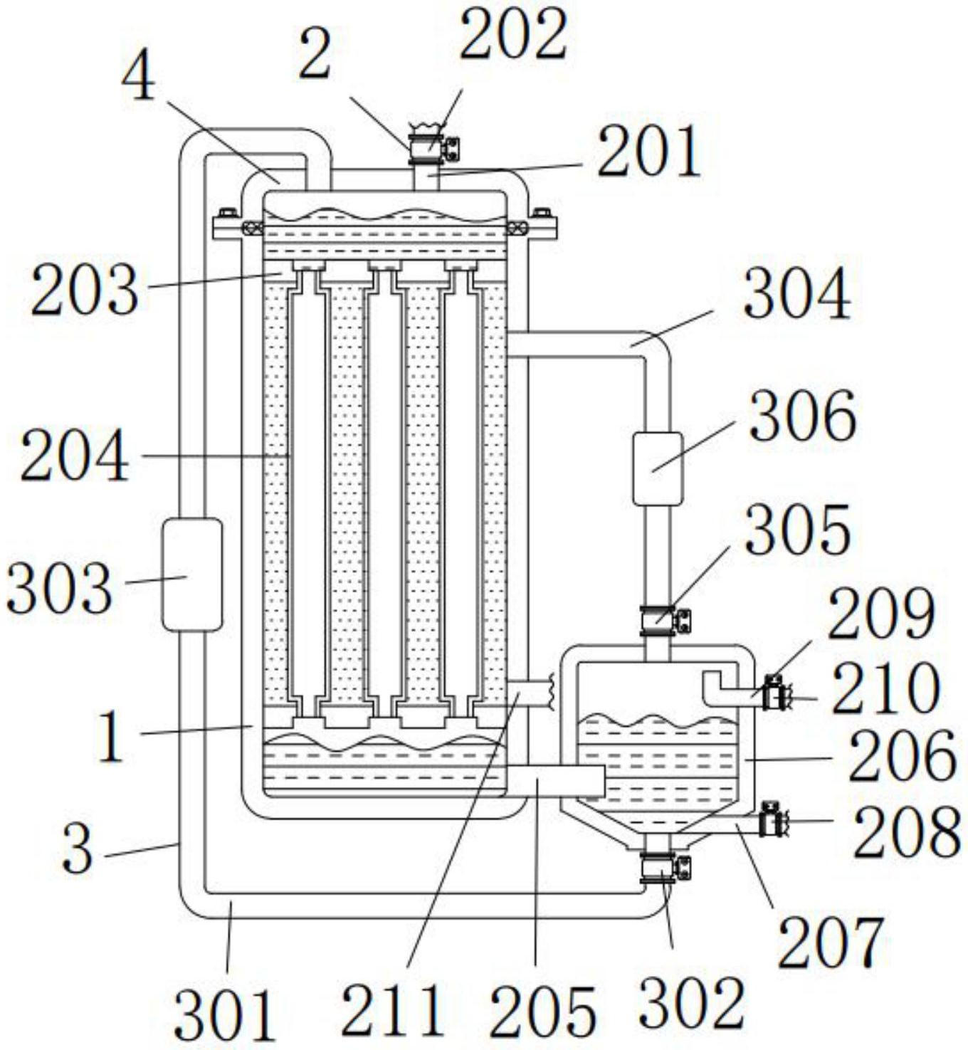
本发明公开了一种医药废水蒸发浓缩系统,包括预热装置,蒸馏装置,蒸发
图片尺寸1820x975
一种生产木糖醇用降膜一体化蒸发浓缩装置-爱企查
图片尺寸1360x1475
乙二醇废水蒸发器
图片尺寸660x660
一种氨基酸提取试验用蒸发浓缩装置-爱企查
图片尺寸547x547
一种废液低温蒸发浓缩处理装置-爱企查
图片尺寸800x774
图文解读蒸发浓缩设备详细结构
图片尺寸459x515
cn87101339a_真空远红外蒸发浓缩机失效
图片尺寸896x901
多效浓缩蒸发器的工作原理
图片尺寸706x456
一种氰化钠蒸发浓缩装置-爱企查
图片尺寸605x391