蒸氨塔结构

蒸氨塔
图片尺寸706x502
dn2000蒸氨塔设计图
图片尺寸528x731
高浓度氯化铵溶液蒸氨塔
图片尺寸800x1957
一种可在线清洗的高效蒸氨塔的制作方法
图片尺寸454x555
蒸氨塔冷凝器的优化设计
图片尺寸493x457
蒸氨塔cad图纸
图片尺寸800x600
具体涉及一种降低蒸氨废水中cn-含量的工艺,特征在于,该工艺在蒸氨塔
图片尺寸1462x1980
氨合成塔,氨合成塔百科
图片尺寸660x821
剩余氨水蒸氨
图片尺寸600x437
氨合成塔
图片尺寸429x877
01)i 发明名称 多床层轴径向合成塔 发明人 谢定中 申请人 湖南安淳
图片尺寸1572x2316
一种多段绝热间接换热节能型氨合成塔
图片尺寸1324x2788
化工厂蒸氨塔解吸塔工艺设计施工图纸
图片尺寸610x861
负压蒸氨对稀土氨氮废水进行氨回收技术
图片尺寸1782x1143
蒸馏塔的作用
图片尺寸600x438
蒸氨塔不打蒸氨回流的焦化废水二次蒸氨设备
图片尺寸1550x1311
本发明涉及一种强化脱酸蒸氨解吸的系统及工艺,脱酸蒸氨塔的顶部设有
图片尺寸1280x1517
蒸氨塔全套图纸
图片尺寸463x331
系统工艺流程以煤为原料生产合成氨工艺流程冷凝塔氨冷器氨分离器来源
图片尺寸413x338
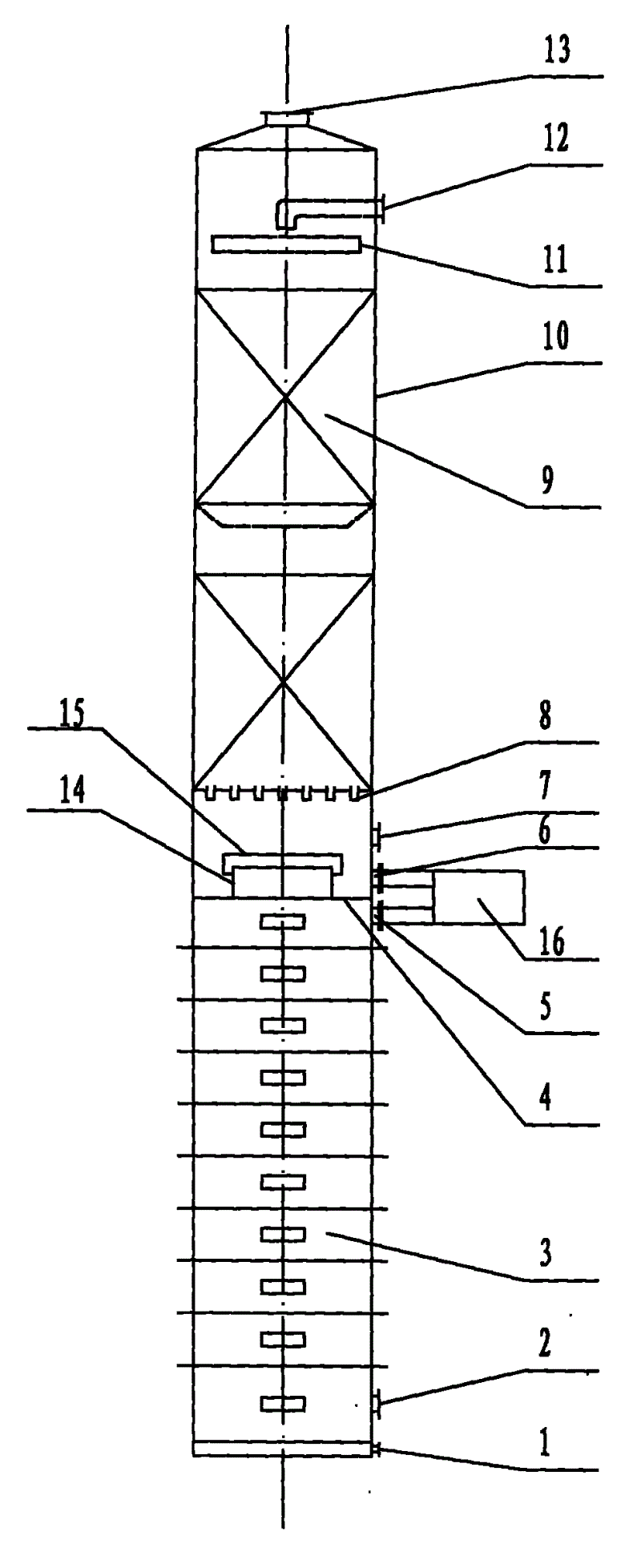
蒸氨塔图纸
图片尺寸371x424